传真:
18923864027
QQ:
709211280
地址:
深圳市福田区振中路84号爱华科研楼7层
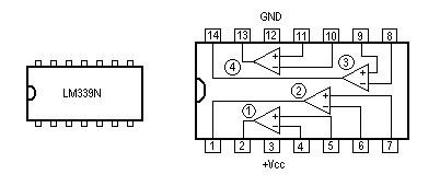
LM339集成,LM339电压比较器的应用电路LM339集成块内部装有四个独立的电压比较器,设计用于在通带内存在输入信号时提供饱和的晶体管接地。采
LM339和LM339N的区别介绍LM339N是四运放IC,可作信号电压放大,比较,逻辑运放,还用于?;?,LM339是四电压比较器 主要用在检测电路和基准
LM339的特点,LM339引脚功能与使用LM339(四路差动比较器)是在电压比较器芯片内部装有四个独立的电压比较器,是一种常见的集成电路,主要应用
LM324的特点,LM324引脚功能以与参数LM324系列是低成本的四路运算放大器,具有真正的差分输入。在单电源应用中,它们与标准运算放大器类型相
运算放大器LM324在家用电器中的应用介绍LM324系列由四个独立的,高增益,内部频率补偿运算放大器,其中专为从单电源供电的电压范围经营。从
LM324的正负电源接法与检测介绍LM324四运放电路具有电源电压范围宽,静态功耗小,可单电源使用,价格低廉等优点,因此被广泛应用在各种电路
LM324组成的开关电源图解开关模式电源又称交换式电源、开关变换器,是一种高频化电能转换装置,是电源供应器的一种。其功能是将一个位准的
基于LM324的电源测试仪设计图解通用型集成运放LM324内部有四个运放器,利用其中两个运放器可以制作一个电源测试仪。此测试仪对于工厂生产线
基于LM324电压比较器的温凝控制器设计介绍温凝控制器广泛应用于电力电子的高低压配电柜、端子箱、变电站,用于实时检测环境温湿度变化,保
LM358的特性和工作原理介绍LM358内部包括有两个独立的、高增益、内部频率补偿的双运算放大器,适合于电源电压范围很宽的单电源使用,也适用
基于LM358的声控延时开关电路设计图解LM358是将两个运算放大器集成在一起的集成电路,因此称为双运算集成电路。其的封装形式有塑封8引线双
采用LM358组成的电路设计解析LM358是一种应用及其广泛的双运算放大器,它具有价格低,电压范围广等优势。本文将介绍由LM358组成的电路设计