LM324系列由四个独立的,高增益,内部频率补偿运算放大器,其中专为从单电源供电的电压范围经营。从分裂电源的操作也有可能和低电源电流消耗是独立的电源电压的幅度。本文介绍LM324在家用电器中的应用。
1.LM324特性
(1)短路保护输出
(2)真差动输入级
(3)可单电源工作:3V-32V
(4)低偏置电流:最大100nA
(5)每封装含四个运算放大器。
(6)具有内部补偿的功能。
(7)共模范围扩展到负电源
(8)行业标准的引脚排列
(9)输入端具有静电保护功能
2.红外??胤缟鹊魉倏?/div>

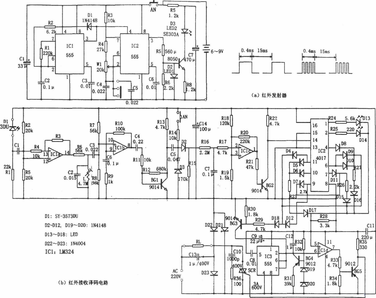
图1 红外遥控风扇调速开关电路
如图所示为红外遥控风扇调速开关电路。该电路由红外发射器和红外接收、译码器组成。红外发射器包括由IC1及D1、R1、R2、C2等组成的低频多谐振荡器和由IC2及R3、R4、C4、C5、W1等组成的多谐振荡器。其中IC1对应的振荡周期为T=t充 t放,且t充=0.693R2C2,图示参数对应约为400μs;t放=0.693R1C2,图示参数对应约为15ms,输出波形的占空比约为3%。IC2对应的振荡频率有两种:f1=1.44/(R3 2R4 2Rw1)(C4),f2=1.44/(R3 2R4 2Rw1)(C4 C5),图示参数对应的频率分别为f=20kHz,f2=10kHz。另外IC1的输出波形控制IC2的振荡情况,当IC2的脉冲波形为低电平时,振荡器Ic2不工作。红外发射管采用SE303A型,脉冲编码调制波形如图(a)中所示。
红外接收管采用与发射管匹配的PH302,也可用3DU型的光敏三极管。集成电路IC1为四运放LM324,其中IC1a。和L、C2回路组成20kHz(或10kHz)的选频放大器,IC1b、BG1为放大器,IC1c和R17~R20组成电压比较器。信号经检波,再经R16、C7延时150ms后加至电压比较器的反相输入端,只有当信号电压超过同相端的偏置电压时,IC1c的输出才会由高电平转为低电平。因此发射时按压时间(AN)应不小于150ms。
集成电路IC2采用十进制计数器/脉冲分配器CD4017,选用8个输出端BG1~BG5、BG7~BG9,内部依次经R25、R27、R26、R23、R24,并与R28分压后加至电压比较器Icld的同相端。IC3(555)、IC1d、BG4等组成具有恒流源的占空比可调的多谐振荡器。占空比的大小取决于加至IC1d的同相端的偏置电压的高低。IC1d的输出经BG5反相后触发SCR双向可控硅,通过控制其发的导通时间来改变交流电压的平均值,从而改变相应转速。
对应于IC2的输出BG1~BG5,风扇有5挡风速不同的连续风,在输出BG7~BG9时,则对应于3挡阵风和微风。
本电路的发射采用红外脉冲编码,对相距5~10m范围内的接收译码器,能可靠地接收、译码,并可实现对风扇5种不同的风速(连续风)和三挡阵风、微风的换挡控制。
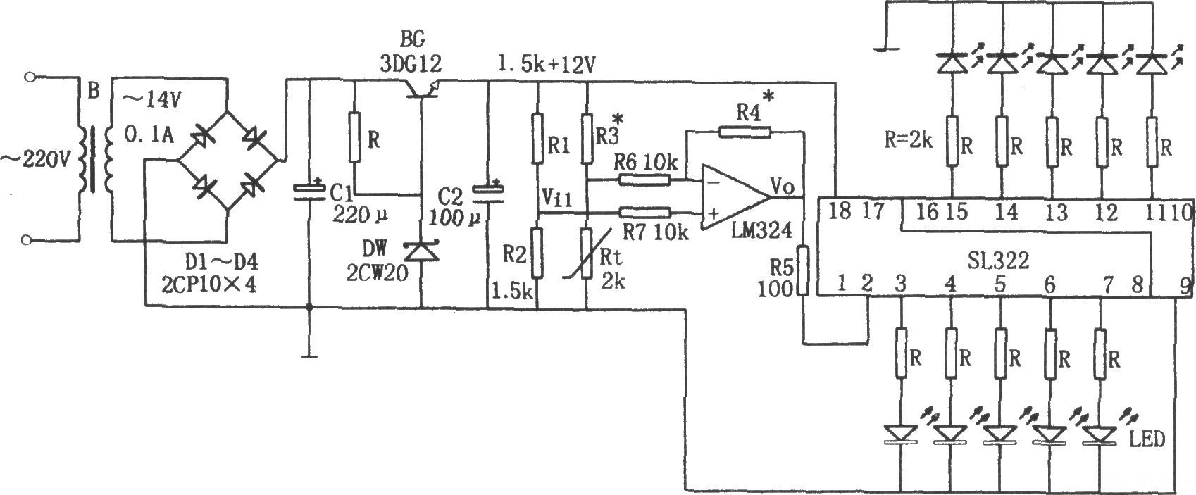
3.电冰箱温度显示器电路
由LM324、SL322构成的电冰箱温度显示器电路。如图所示。该电路由降压整流电路、温度检测元件Rt、集成运算放大器LM324、电平显示集成电路SL322等组成。其中降压整流电路为整个电路提供直流电压,Rt为热敏电阻,SL322用于驱动发光二极管发光。

图2 LM324、SL322构成的电冰箱温度显示器电路
当电冰箱内温度升高时,Rt的阻值下降,相应Vi1下降,它通过LM324放大后,使电压Vo上升,Vo被直接送入SL322,以驱动发光二极管发光,且因SL322的输入电压上升,被点亮的发光二极管数目增多。反之,当电冰箱内的温度降低时,被点亮的发光二极管数目减少。确定好1只发光二极管表示的温度后,则由发光二极管被点亮的数目即可知电冰箱内的温度。图示电路在0℃时只有1只发光二极管点亮,18℃有10只发光二极管点亮,则平均每隔2℃的变化将引起l只发光二极管的亮或灭。
如果想使电冰箱内的温度越低时被点亮的发光二极管越多,则可将R3与R4的位置对调一下即可。
热敏电阻Rt选用MF51型,使用范围为-55~ 125℃,灵敏度高。使用时对其进行定标的方法是:先把Rt与温度计绑在一起,两个测温头尽量靠拢,以减小误差,然后将Rt的两根引线与万用表的表笔连好,并把量程开关放在R×1k挡,最后把两个测温头放入冷藏室或冷冻室内,即可测出Rt在所要求的低温时或高温时显示的阻值。一般测两次取平均值较好。通常冷藏室内温度为2~8℃,取显示温度范围为0~18℃即可满足要求。
调试时,先取R3的阻值等于Rt最低显示温度对应的值,然后将Rt换成电位器,并将它调至最高温度Rt对应的值,再调整Rt,使发光二极管全部点亮。最后调电位器,使阻值等于最低显示温度Rt对应的值,调整R3使1个发光二极管点亮即可。
本电路可通过发光二极管的显示从冰箱外部得知电冰箱内的温度。不过电路接入中需注意的是:Rt应放在温度较均匀且能代表整个箱内的平均温度的冷藏室内侧壁中点。
4.豆浆机电路
由CD4025,CD4060,LM324组成的豆浆机电路

图3 CD4025,CD4060,LM324组成的豆浆机电路
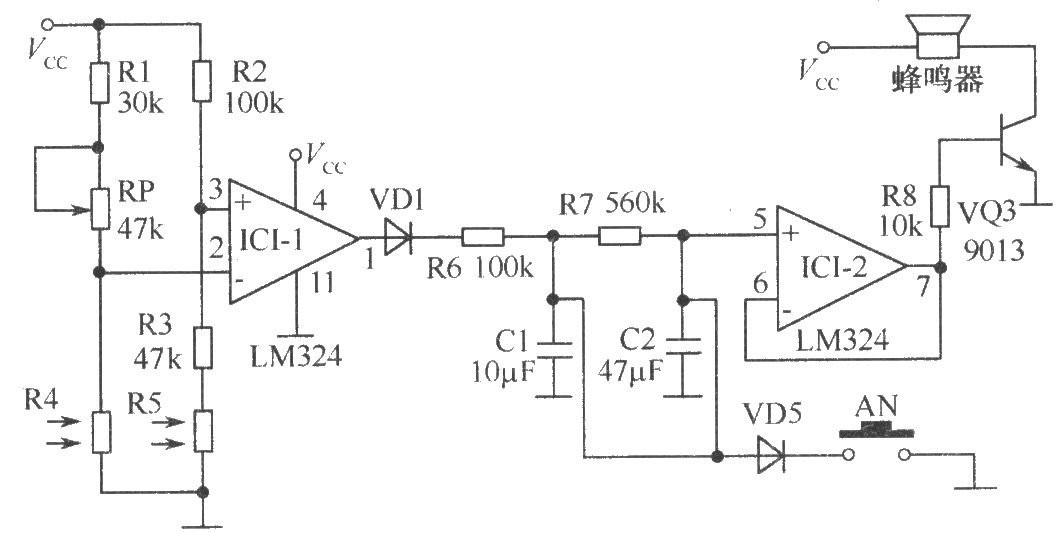
5.煤气炉熄火报警器电路

图4 LM324的煤气炉熄火报警器电路
本电路由LM324的煤气炉熄火报警器电路。煤气炉一旦因故熄火而又没有及时发现,将是十分危险的。虽然某些高级煤气炉有自动熄火控制?;ぷ爸?,但价格高难以普及。如图所示为煤气炉熄火报警装置,可以对煤气炉进行监视和报警。电路核心器件是LM324四运放。IC1-1作比较器,IC1-2作跟随器;R4、R5为光敏电阻,其阻值随光照强度而变化;AN为复位开关,用于泄放电容C1、C2的电荷;使用时,首先把光敏电阻R4对准火焰,转动“调节旋纽”使报警器不报警。用手挡住火焰,此时应发出报警声。一般调节两三次即可达到要求。该电路使用9V叠层电池。
电话:18923864027(同微信)
QQ:709211280
〈烜芯微/XXW〉专业制造二极管,三极管,MOS管,桥堆等,20年,工厂直销省20%,上万家电路电器生产企业选用,专业的工程师帮您稳定好每一批产品,如果您有遇到什么需要帮助解决的,可以直接联系下方的联系号码或加QQ/微信,由我们的销售经理给您精准的报价以及产品介绍
相关阅读