传真:
18923864027
QQ:
709211280
地址:
深圳市福田区振中路84号爱华科研楼7层
怎么恢复二极管开关电源与检测电阻的好坏在开关电源的运行过程中,其一直处于开闭循环状态,这使得电源内部器件不仅需具备高强度以承受反复
整流二极管的特征与稳压二极管认识介绍一、通用型二极管:整流与基础?;ねㄓ眯投苤饕糜谡鳎唇涣鞯缱晃绷鞯?。桥式二极管作
稳压二极管,电感基础概念与识别方法介绍一、稳压二极管(齐纳二极管)(一)基本特性与电路标识稳压二极管是一种在临界反向击穿电压前具有
稳压二极管的稳压原理与电阻基础知识介绍一、稳压二极管的稳压原理与故障特点稳压二极管是一种在反向击穿区工作的半导体器件,其核心特性在
pcb多层板设计与稳压二极管的检查方法介绍一、多层板元器件钻孔及焊盘设计要点在多层板设计中,元器件钻孔大小需依据引脚尺寸精确设定。钻
光电二极管工作原理与主要参数介绍光电二极管,它能够将光信号转换为电信号,在各种光检测和信号处理应用中发挥着重要作用。本文将深入探讨
瞬变二极管的特性与参数及选用方法介绍瞬变二极管(TVS,Transient Voltage Suppressors),作为一种高品质的突波吸收器,凭借其出色的浪
有源音箱功放与PFC二极管作用介绍一、有源音箱:集成化与便捷性的完美结合有源音箱,顾名思义,是内置功率放大器的音箱系统,涵盖了多媒体
为什么用肖特基二极管做续流在开关电源设计领域,肖特基二极管通常作为续流二极管的首选,而非快恢复二极管。这一选择背后的关键驱动力有两
TVS瞬态抑制二极管的使用与选型介绍在开关电源领域,为保障供电稳定性与电源自身安全,精心设计的外围电路必不可少。其中,浪涌冲击?;さ?
二极管恢复对反向电压的阻断能力判断解析Flex 电源??椋‵lex Power Modules)重磅推出 PKE - A 系列 DC - DC 电源???,强势拓
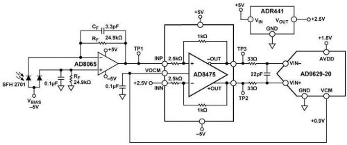
高速光电二极管信号调理电子线路图介绍本文聚焦于一款高速光电二极管信号调理电路,其具备暗电流补偿功能,旨在高效转换高速硅 PIN 光电