LM317三端可调正稳压器集成电路。我国和世界各大集成电路生产商均有同类产品可供选用,是使用极为广泛的一类串联集成稳压器。其内置有过载?;?、安全区?;さ榷嘀直;さ缏?。不仅具有固定式三端稳压电路的最简单形式,又具备输出可调电压(1.25-12V)的特点。本文将介绍由LM317组成的各种电源电路。
1.自适应可调稳压电源电路

图1 LM317构成的自适应可调稳压电源电路
如图1所示为自适应可调稳压电源。本电源以LM317为稳压器件,用自适应切换电路根据输出电压的高低自动切换输入电压,以减小输入与输出电压的压差,降低电源本身的功耗。其中VT2、VD5、VW、R5、R6、C10及继电器K构成自适应切换动作电路,当输出电压Vo低于14V时,VW因击穿电压不够而截止,无电流通过,VT2截止,K不动作,其触点K-1处于常闭状态,变压器的次级14V交流电接入稳压电路。反之,当输出电压大于14V时,VW击穿,VT2导通。K得电,K-1动作,将28V交流电压接入稳压电路。从而保证了输入与输出压差不超过15V。本电路的输出电压为1.25~30V连续可调,输出最大电流为3A。
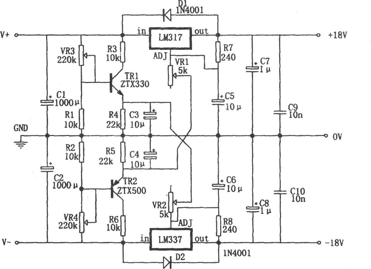
2.0~±30V、1.5A电源电路

图2 LM317构成的0~±30V、1.5A电源电路
如图2所示为0~±30V、1.5A电源。从图中可以看出本电源的特点是其正负输出电压最小可以调到0V。LM317(LM337)正常情况下只能调到1.25(-1.25)V,但在可调三端的调整端加上了适量的反偏,使输出电压可以调到零。这一点是通过TH2的发射极的负电压接在VR1上,将TH1发射极的正电压接在VR2上而实现的。
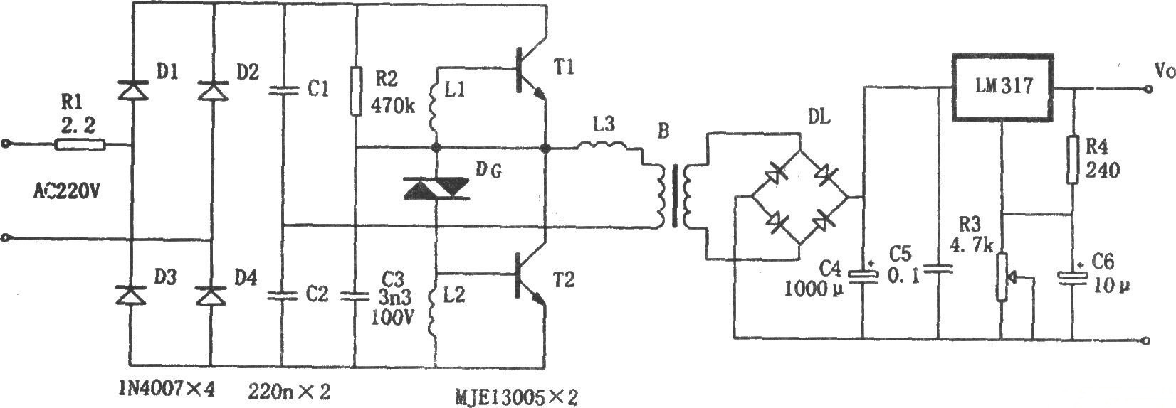
3.电子变压稳压电源电路

图3 LM317构成的电子变压稳压电源电路
如图3所示为电子变压稳压电源。该电路采用高频振荡的方法进行电子变压,然后用三端稳压器LM317进行可调稳压。其特点是:体积小、重量轻、电路简单。220V交流电压经D1~D4整流变为直流高压。该直流电压由L1、L2、L3和T1、T2等元件组成的高频振荡电路变成高频脉冲,加在高频变压器B的初级,经变压在B的次级得到所需要的低压,再经高频整流滤波和LM317的稳压,在LM317输出端获得稳定的直流电压。
4.1.25~37V可调电源电路

图4 LM317构成的1.25~37V可调电源电路
如图4所示为1.25~37V可调电源电路。它是可调式三端稳压器的典型应用电路,特点是性能好、工作稳定、体积小、制作安装简单方便,最大输出电流为l.5A,输出电压在1.25~37V之间连续可调。它最适合做实验用电源。
图中C3用于滤除RP上的纹波,提高电源输出电压的稳定性。由于某种原因当LM317的输出端与输入端短路时,C2会通过LM317内部放电而损坏芯片,VD6可为C2提供放电回路。C4用来防止输出端产生自激。VD5为?;ざ?,用以防止输入端短路时容性负载上积存的电荷向LM317放电。为了保证LM317可靠工作。Rl的阻值一般取120Ω(或240Ω)。输出电压Vo表达式为:Vo=1.25×(1 R2/Rp)V。
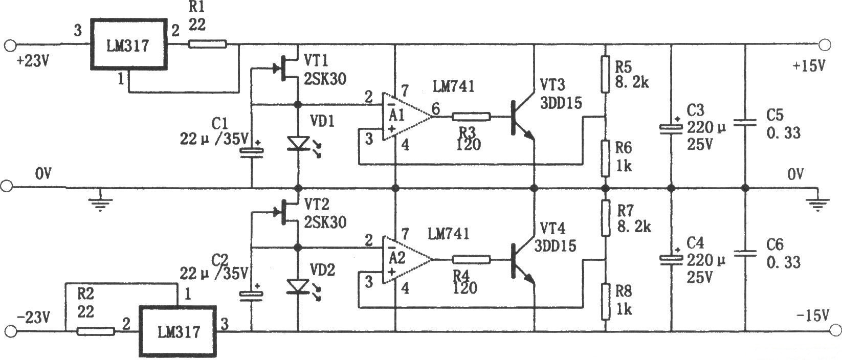
5.恒流并联稳压电源电路

图5 LM317构成的恒流并联稳压电源电路
如图5所示为恒流并联式稳压电源。它具有高速、低噪声、低内阻的特点。采用LM317作为恒流源,可为负载提供560mA的恒定电流。场效应管2SR3D和发光管提供低噪声的基准电压。LM741(运放)作为误差放大器,对基准电压和取样电压进行比较和放大。两只3DD15用来调整输出电压,以达到稳定输出电压的目的。
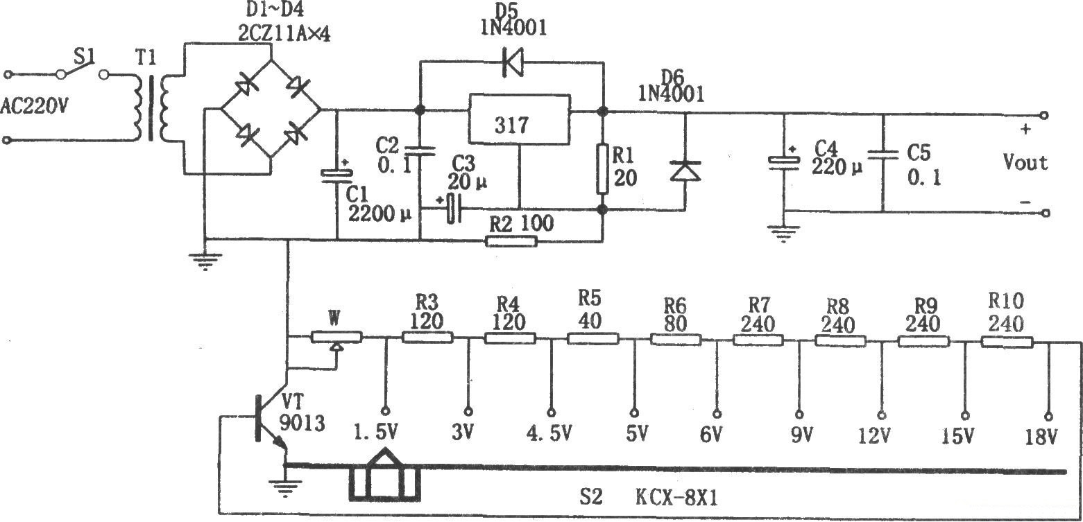
6.分挡可调直流稳压电源电路

图6 LM317构成的分挡可调直流稳压电源电路
如图6所示为分挡可调直流稳压电源。本电源主要以可调式三端稳压器LM317为核心,在LM317的调整端接有可调电位器W、电阻R3~R10及九挡拨动开关S2和三极管VT,通过调节S2,在输出端可得到固定的9挡不同的输出电压。三极管VT的作用是防止S2在拨动中出现暂时断开或接触不良,导致输出电压过高而损坏负载。R3~R10的阻值仅供参考。
7.5A恒流稳压电源电路
利用LM317与LM301组成的5A恒流稳压电源电路

图7 LM317与LM301组成的5A恒流稳压电源电路
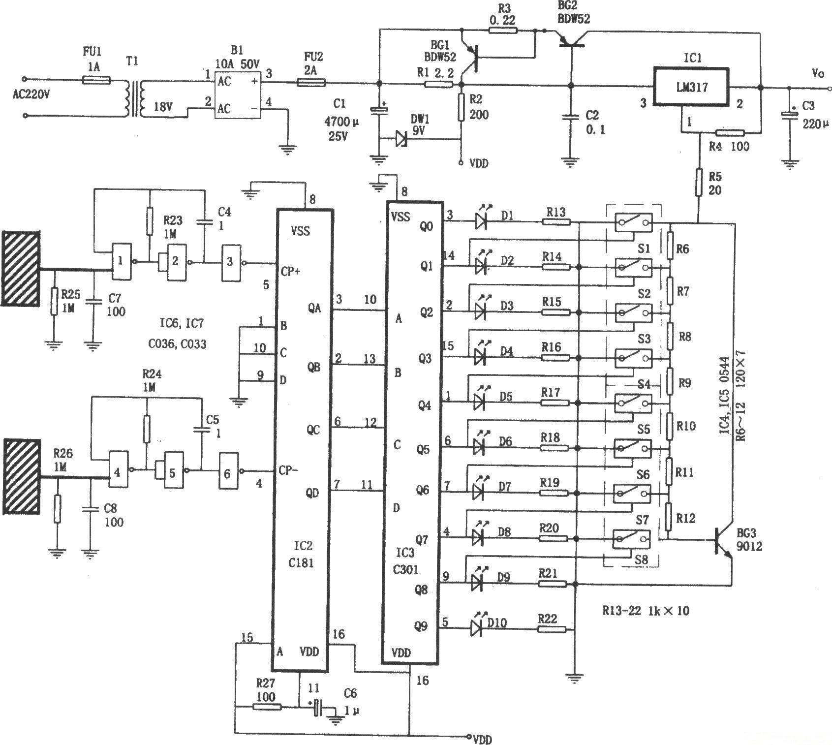
8.触摸控制稳压电源

图8 LM317与C181、C301构成的触摸控制稳压电源电路
如图8所示为触摸控制稳压电源。本电源采用数字集成电路和模拟开关控制LM317控制端(ADJ)与地之间的电阻值,从而代替了传统的电位器,使得操作方便,只需触摸金属片就可调整输出电压。输出电压有:l.5V、3V、4V、5V、6V、7.5V、9V、12V 8挡,而且输出电压的大小由发光二极管直观显示,最大输出电流为1.5A。
9.1.25V~30V连续可调稳压电源
图9电路中,由T2、D5、VW1、R5、R6、C10及继电器K构成自适应切换动作电路。当输出电路低于14V时,VW1因击穿电压不够而截止,无电流通过,T2截止,K不吸合,其触点K在常态位置,电路输入电流14V交流电。反之当输出电压高于14V时,VW1击穿导通,T2亦导通,继电器K吸合,28V交流电接入电路。这样可以保证输入电压与输出电压差不会大于15V,此时,LM317输出电流典型值为2.2A。图中采用了两块LM317供电,整个电路输出电流可在4A以上。由于两块LM317参数不可能一样,电路中在LM317输出端串接了小阻值电阻R3、R4,用以均分电流。

图9 1.25V~30V连续可调稳压电源原理图
输出电压调整由RP1、RP2完成。附加晶体管T1的目的在于避免电位器RP1滑动端接触不良,使W317调整公共端对地开路,造成输出电压突然变化,损坏电源及负载。
双色发光二极管作为保险丝熔断指示器(红光)兼电源只是器(橙色光)。当电源正常时,两只发光二极管均加有正向电压,红、绿发光二极管均发光,形成橙色光。当保险丝FU2断开时,仅红色发光管加有正向电压,故此时只发红光。
为保证稳压准确,设计电路板时主电流回路应足够宽,并焊上1mm以上的铜导线或涂锡,以减少纹波电压。C6、C8尽量靠近LM317的输入、输出端,并优先采用无感电容。C5如无合适容量,可用几只电容并联。R3、R4可用锰丝自制。
调试时,调整RP1、RP2应使继电器在电源输出14V左右时吸合,否则可调换稳压二极管再试。
10.LED恒流源电路

图10 LM317构成的LED恒流源电路
本电路图为一款利用LM317的LED恒流源电路图。LED要恒流供电,不然容易老化损坏??梢杂肔M317,原理是利用317的启探控电压不变,再除电阻,就是恒流值。灯可以根据需求接多少个。改变R1可改变电流,电流=1.25/R1。电路如图10所示。
电话:18923864027(同微信)
QQ:709211280
〈烜芯微/XXW〉专业制造二极管,三极管,MOS管,桥堆等,20年,工厂直销省20%,上万家电路电器生产企业选用,专业的工程师帮您稳定好每一批产品,如果您有遇到什么需要帮助解决的,可以直接联系下方的联系号码或加QQ/微信,由我们的销售经理给您精准的报价以及产品介绍