传真:
18923864027
QQ:
709211280
地址:
深圳市福田区振中路84号爱华科研楼7层
什么是MOS管MOS管有很多种封装,TO-220是最长见的直插封装,另外还有各种直插和贴片封装,大家没有见过的话,能够去某网站搜一下见见。什么
场效应管场效应管是应用电场效应来控制电流变化的放大元件。它与晶体管相比,具有输入阻高、噪声低、热稳定性好等优点,因此得到了疾速开展
CMOS与放大器的接口电路的特征假如CMOS电路的负载(执行元件)是继电器,则电路必需具有较大的带负载才能。图7-6所示为非门驱动一个分立元
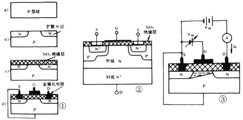
MOS场效应晶体管通常简称为场效应管,是一种应用场效应原理工作的半导体器件,外形如图4-2,所示。和普通双极型晶体管相比拟,场效应管具有
场效应晶体管通常简称为场效应管,是—种应用场效应原理工作的半导体器件,外形如图4-21所示。和普通双极型晶体管相比拟,场效应管具有输入
场效应管有哪些根本参数(1)场效应管的根本参数①夹断电压UP 也称截止栅压UGS(OFF),是在耗尽型结型场效应管或耗尽型绝缘栅型场效应管源极
场效应管有哪些用途场效应管的主要作用是放大、恒流、阻抗变换、可变电阻和电子开关等。(1)放大场效应管具有放大作用。如图4-29所示为mos场
结型场效应管的检测1.判别电极与管型(1)将万用表的转换开关置于电阻挡的RX100挡或RXlk挡。(2)用黑表笔任接一个电极,用红表笔依次触碰另外
场效应管TMOS,VMOSMOSFET构造,从纵剖面来看,栅极(栅区)、源极(源区)、漏极(漏区)大致排列在同不断线上,这样的构造被称为横向沟道(
功率MOSFET主要用于计算机外设(软、硬驱动器、打印机、绘图机)、电源(AC/DC变换器、DC/DC变换器)、汽车电子、音响电路及仪器、仪表等领域
MESFET并不是MOSFET的笔误,而是另一种功率JFET,它是Metal-Semiconductor Field-Effect Transistor的缩写,大致含义是金属—半导体场效
怎样选用场效应管常用场效应管主要有结型场效应管、耗尽型绝缘栅场效应管、加强型绝缘栅场效应管、双栅场效应管、功率场效应管等。(1)结型