一、定义
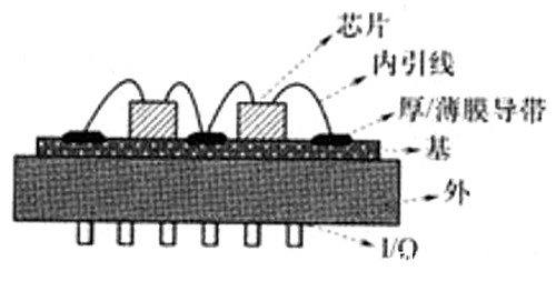
混合集成电路是一种先进的集成技术,它将采用不同工艺制造的多种电子元件,如半导体器件、陶瓷器件、电阻、电容等集成于同一基板之上。通过金属线连接或焊接的方式,使这些元件相互协作,共同构建起具备特定功能的电路系统。
在制造过程中,混合集成电路首先利用成膜方法在基片上制作出厚膜或薄膜元件及其互连线。在此基础上,将分立的半导体芯片、单片集成电路或微型元件混合组装于同一基片之上,最后经过外部封装工序完成整体构造。
二、功能特点
混合集成电路(Mixed-SignalIntegratedCircuit,MSIC)融合了数字与模拟电路的功能,能够同时对数字信号和模拟信号进行处理。常见的混合集成电路包括模数转换器(ADC)、数模转换器(DAC)以及混合信号处理器等。
混合集成电路具有以下显著特点:
设计灵活:其设计具有较高的灵活性,能够较好地满足多品种、小批量的生产需求。
元件参数优越:元件参数范围较宽,精度高,稳定性好,具备承受较高电压和较大功率的能力。
高密度互连:随着多层布线结构和通孔工艺技术的不断发展,混合集成电路的集成密度和可靠性得以持续提升。
三、分类方式
(一)按功能分类
包括但不限于混合集成放大器、集成频率源、滤波器、转换器、功率类等丰富类型。
(二)按表面厚膜薄膜导带工艺分类
可分为厚膜混合集成电路、薄膜混合集成电路。


(三)按布线工艺技术特点分类
厚膜混合集成电路
薄膜混合集成电路
多芯片组件(MCM)
其中,某些小型控制电路板(PCB)电路,由于其印制电路是以膜的形式在平整板表面形成导电图形,也被归为混合集成电路范畴。而随着多芯片组件(MCM)这一先进混合集成电路的出现,其基板所具有的多层布线结构和通孔工艺技术,使得MCM组件成为混合集成电路高密度互连结构的典型代表。MCM所采用的基板类型多样,涵盖薄膜多层、厚膜多层、高温共烧、低温共烧、硅基、PCB多层基板等。
四、应用领域
混合集成电路主要应用于模拟电路、微波电路领域,同时在一些对电压、电流要求较高的专用电路中也发挥着重要作用,例如电台、电子计算机、测试测量设备、航空电子系统以及微波无线电通信等众多领域。
〈烜芯微/XXW〉专业制造二极管,三极管,MOS管,桥堆等,20年,工厂直销省20%,上万家电路电器生产企业选用,专业的工程师帮您稳定好每一批产品,如果您有遇到什么需要帮助解决的,可以直接联系下方的联系号码或加QQ/微信,由我们的销售经理给您精准的报价以及产品介绍
联系号码:18923864027(同微信)
QQ:709211280