电源滤波器是一种由电容、电感和电阻组成的滤波器,它的作用是:对特定频率的频点或该频点以外的频率进行有效滤除,得到所需要的有效信号。
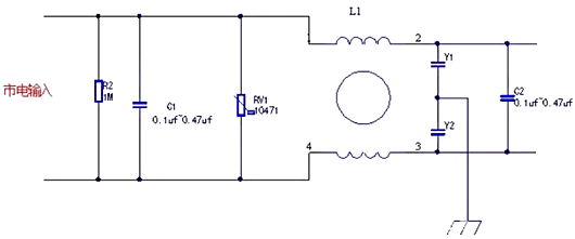
电源滤波器原理图
下图是电源滤波器典型电路图


C1、C2是差模电容器,一般称为X电容,电容容量很多时候选择在0.01μF到0.47μF之间;Y1和Y2是共模电容,一般称为Y电容,电容量不宜过大,一般在几十纳法左右,选的太大容易引起漏电;
L1为共模扼流圈,它为同向绕在同一个铁氧体环上的一对线圈,电感量约为几毫亨,对于共模干扰电流,两个线圈产生的磁场是同方向的,共模扼流圈表现出较大的阻抗,从而起到衰减干扰信号的作用;
而对于差模信号,两个线圈产生的磁场抵消,因此不会影响到电路的性能。需要注意的是这是一级滤波器电路,如果想要效果得到更好可以采用二级滤波。


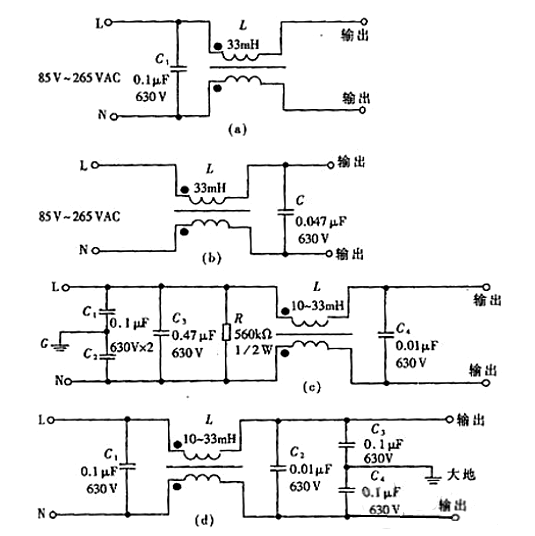
开关电源EMI滤波器典型电路
开关电源为减小体积、降低成本,单片开关电源一般采用简易式单级EMI滤波器,典型电路图所示。
图(a)与图(b)中的电容器C能滤除串模干扰,区别仅是图(a)将C接在输入端,图(b)则接到输出端。图(c)、(d)所示电路较复杂,抑制干扰的效果更佳。图(c)中的L、C1和C2用来滤除共模干扰,C3和C4滤除串模干扰。
R为泄放电阻,可将C3上积累的电荷泄放掉,避免因电荷积累而影响滤波特性;断电后还能使电源的进线端L、N不带电,保证使用的安全性。图(d)则是把共模干扰滤波电容C3和C4接在输出端。
〈烜芯微/XXW〉专业制造二极管,三极管,MOS管,桥堆等,20年,工厂直销省20%,上万家电路电器生产企业选用,专业的工程师帮您稳定好每一批产品,如果您有遇到什么需要帮助解决的,可以直接联系下方的联系号码或加QQ/微信,由我们的销售经理给您精准的报价以及产品介绍
联系号码:18923864027(同微信)
QQ:709211280