可控硅由关断转为导通,除阳极要承受正向电压外,门极还要加上适当的触发电压,改变触发脉冲输出时刻便可达到改变输出直流电压的目的。为门极提供触发电压和电流的电路叫触发电路。
在设计可控硅(SCR)触发电路时,可控硅(SCR)整个区域的运行很大程度上取决于其触发方式。
在进行电路设计时,需要特别注意确保没有误触发,同时确保晶闸管在需要时触发。
在可控硅(SCR)触发中,包括栅极驱动要求(如果使用栅极触发)、触发时间(需要保持所施加的触发激励时间以使电路锁存)等各个方面都很重要,各种参数的重要性取决于所使用的可控硅( SCR )触发形式。
单结晶体管触发电路
单结晶体管是一种特殊的半导体元件,它有3个电极(一个发射极和两个基极),故又称双基极二极管。利用单结晶体管的负阻特性及电容的充、放电特性可组成单结晶体管自激振荡电路。如下图所示。.


假定在接通直流电源Ubb之前电容C上没有电压,一旦接通Ubb,电源立即通过可变电阻R对电容C充电,电容两端电压按指数函数规律增长。当uc=UP时,单结晶体管导通,于是电容 C就向输出电阻R1放电。
由于R1很小(50~100Ω),所以放电非??欤⒃谑涑龅缱璧牡缪共ㄐ瓮忌闲纬杉饴龀宓缪?。当uc下降到谷点电压Uv之后,单结晶体管截止,发射极电流几乎为零,输出尖脉冲停止,电容C再次充电。如此周而复始,在电容C上形成了锯齿波,在输出端R1的电压波形图上形成了一系列尖脉冲。
改变可变电阻R或电容C,均能改变脉冲的输出时刻,但一般都是通过改变R实现,因为改变R容易且投资小。
一般C值取0.1~0.47μF,C值太小会造成触发功率不够,过大则最小控制角增大,移相范围变小。
R1在50~100Ω之间取值为宜,R1值太小,则放电太快,脉冲太窄且幅度小,不利于触发可控硅;R1值太大,有可能由于流过未导通单结晶体管的漏电流在R1上产生的“残压”太大,而导致可控硅误导通。
因峰点电压UP=ηUbb+UV,分压比η不随温度的变化而变化,但UV随温度的上升而下降,所以峰点电压随温度的上升而下降,这会引起UP不稳定而影响控制角。在电路中接入不随温度变化的电阻R2,当温度升高时,UV值虽然下降,而rbb却增大,电流Ibb=E/(R1+R2+rbb)减小,R1、R2上的电压降相应减小,而E为恒定值,于是Ubb=E-(UR1+UR2)增大,以ηUbb的增加来补偿UV的减小,从而维持UP不变,使触发电路工作点基本稳定不变。R2一般取值200~600Ω。
双向可控硅触发电路图


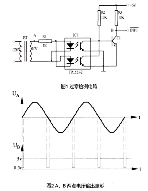
为了提高效率,使触发脉冲与交流电压同步,要求每隔半个交流电的周期输出一个触发脉冲,且触发脉冲电压应大于4V,脉冲宽度应大于20us.图中BT为变压器,TPL521-2为光电耦合器,起隔离作用。当正弦交流电压接近零时,光电耦合器的两个发光二极管截止,三极管T1基极的偏置电阻电位使之导通,产生负脉冲信号,T1的输出端接到单片机80C51的外部中断0的输入引脚,以引起中断。在中断服务子程序中使用定时器累计移相时间,然后发出双向可控硅的同步触发信号。过零检测电路A、B两点电压输出波形如图2所示。
〈烜芯微/XXW〉专业制造二极管,三极管,MOS管,桥堆等,20年,工厂直销省20%,上万家电路电器生产企业选用,专业的工程师帮您稳定好每一批产品,如果您有遇到什么需要帮助解决的,可以直接联系下方的联系号码或加QQ/微信,由我们的销售经理给您精准的报价以及产品介绍
联系号码:18923864027(同微信)
QQ:709211280