绝对值电路详解
绝对值电路可以将输入的带有正负号的数值转换为其绝对值。这是通过对输入信号进行比较和选择来实现的。如果输入信号是正的,则输出与输入相同;如果输入信号是负的,则输出为输入的相反数。
绝对值电路是物理电路中数据信息的处理后的一种电路。例如, 电路设计中绝对值电路对信号取绝对值变成正信号后,(将信号取绝对值后再除以√2得到的信号)就是工程中的测量值,而物理中的电路由于有相当部分是用最大值的电路,而且电路中的方向也会使数据需要处理才能得到真正的利用。绝对值电路处理方法是对数据转化为我们生活中的实际应用的数据的重要途经。
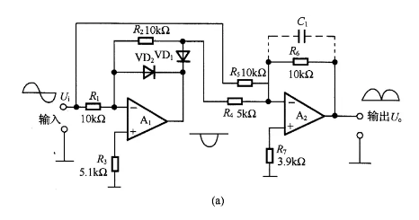
绝对值电路图


如图为最基本的绝对值电路,即为负的理想二极管电路与加法电路组成,输出U。等于Ui的两个半周相加,若在A2的反相输入端与输出端接入电容C1,则输出为平滑的直流。而各阻值之间关系应为,R1=R2,R5=2R4, Av=R6R5。
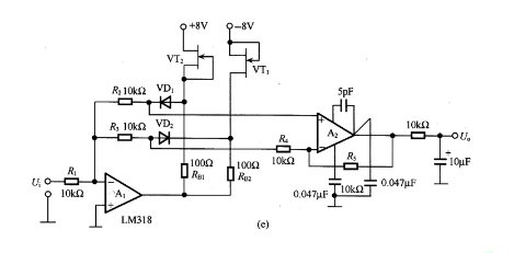
运放绝对值电路图




如图是采用理想二极管的绝对值基本放大电路。A1和A2采用高速运放LM318和HA2525。图2是绝对值高速放大电路的实例。电路中,利用VT,和VT2构成的恒流源以及RB1和RB2上的压降对A1加偏置,电路构成简单,绝对值放大器的频率特性可到几百kHz以上。
简单有效的绝对值电路


如图所示,仅需一个AD82774双通道差动放大器和单正电源。当输入信号为正时,A1充当电压跟随器。A2的两个输入与输入信号的电位相同,因此A2只是将正信号传递到输出。当输入信号为负时,A1的输出为0 V,A2反相输入信号。总体结果是输入信号的绝对值。高达 ±10 V 的信号可以在高达 10 kHz 的频率下进行整流。如果要整流的信号非常小,则每个运算放大器输出端的下拉电阻可以改善0 V左右的电路性能。
〈烜芯微/XXW〉专业制造二极管,三极管,MOS管,桥堆等,20年,工厂直销省20%,上万家电路电器生产企业选用,专业的工程师帮您稳定好每一批产品,如果您有遇到什么需要帮助解决的,可以直接联系下方的联系号码或加QQ/微信,由我们的销售经理给您精准的报价以及产品介绍
联系号码:18923864027(同微信)
QQ:709211280