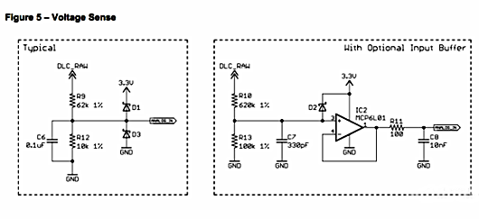
24V低压检测电路


当电压采样速率低和要求低时,左边电路图即可满足;当采样速率和精度要求比较高时,采用右边电路。


Vin=24V低压检测电路,将24V转换到0-3V3之间,实测效果挺好的,电阻使用1%的精度。
〈烜芯微/XXW〉专业制造二极管,三极管,MOS管,桥堆等,20年,工厂直销省20%,上万家电路电器生产企业选用,专业的工程师帮您稳定好每一批产品,如果您有遇到什么需要帮助解决的,可以直接联系下方的联系号码或加QQ/微信,由我们的销售经理给您精准的报价以及产品介绍
联系号码:18923864027(同微信)
QQ:709211280