直流电机以其具有良好的调速性能、较大的起动转矩和过载能力强等特点广泛应用于各种领域。近年来,直流电机的结构和控制方式都发生了很大的变化,随着计算机进入控制领域以及新型电力电子功率元件的不断出现,PWM(pulsewidthmodulaon)调速已成为直流电机调速的新方式,并凭借开关频率高、低速运行稳定、动态性能优良、效率高等优点在直流电机调速中被普遍运用。因此本文提出了基于基于80C196KC和L298N的直流电机PWM控制系统的设计。
1.PWM调速系统原理
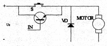
PWM即脉冲宽度调制是指利用大功率晶体管的开关特性来调制固定电压的直流电源,按一个固定的频率来接通和断开,并根据需要改变一个周期内接通和断开时间的长短,通过改变直流伺服电动机电枢上电压的占空比来改变平均电压的大小,从而控制电机的转速。因此又常被称为开关驱动装置,PWM控制的示意图如图1所示。

图1 PWM控制示意图
改变占空比通常有PWM和PFM(pulsefrequencymodulaion)两种方式。PWM是通过改变导通脉冲宽度,即通常所说的定频调宽方式。PFM是导通脉冲宽度恒定通过改变开关频率来改变占空比,由于当遇到某个特殊频率下的机械谐振时,常导致系统的震动和啸叫声,因此在直流电机的控制中以PWM控制方式为主。
2.控制系统硬件设计
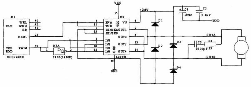
基于80C196KC和L298N的直流电机调速系统由单片机最小系统、R/D变换器、PWM功放电路、A/D和D/A转换电路、接收指令接口电路等组成。单片机最小系统采用16位单片机80C196KC外扩接口电路,主要用来实现数据采集、PWM信号产生等功能,调速系统组成原理框图见2。

图2 PWM调速系统组成框图
2.1功率集成电路L298N简介
为提高系统效率,降低功耗,功放驱动电路采用基于双极型H桥型脉宽调制方式的集成电路L298N。L298N是由SGS公司生产的高性能脉宽调制功率放大器,具有体积小、驱动能力强等特点。内部包含两个H桥高电压大电流桥式驱动器,单片即可实现电机全桥驱动,可驱动46V,2A以下的电机。L298N的内部结构如图3所示。

图3 L298N内部结构框图
2.2直流电机控制系统硬件电路
L298N可以驱动两台直流电机,因该调速系统为单轴结构,为充分利用该功放电路的带负载能力,以使系统以最大加速度启动,并以最大加速度制动,设计时分别将输入和输出两两并联使用控制直流电机。如图4所示,输入端IN1、IN3并联,IN2、IN4并联,输出端OUT1、OUT3并联,OUT2、OUT4并联分别接至电机两端,使能端由单片机高速输出口HSO1控制。
单片机80C196KC根据位置环和速度环运算结果给出PWM信号,PWM信号一路直接输出至IN1(IN3)端,一路经过7406取反输出至IN2(IN4),当PWM模拟信号占空比为50%时,电机两端正反向电压所加时间相同,电机在此位置处于微颤状态,即处于“动力润滑”状态,当占空比大于50%时,信号电压OUTA大于OUTB,电机正转,反之则反转。因此必须理顺各环节的输出极性,才能形成负反馈,完成闭环控制。依靠改变PWM占空比控制电机转速的同时也可以改变电机转向,控制方法简单可靠。此外,因为电机是电圈式的,在电机出现急停和突然换向时会形成反向电动势,为保证L298N驱动芯片的正常工作,在输出端OUTA、OUTB与直流电机之间加入两对续流二极管将电流分流到电源正极或地端,以免反向电动势对L298N产生损害。
2.3抗干扰及电磁兼容性设计
电机驱动时,功率主开关元件的快速通断导致功率电流和电压变化率较大,不仅影响驱动电路而且还会通过电源、地进入控制电路。此外,电机启动制动时在负载突变处产生瞬变电压,其振幅也会高于电源电压,而且前沿陡峭、频带很宽,经由直流电源进入控制电路。因此,抗干扰及电磁兼容设计也至关重要。系统采取了电流平波、去毛刺、屏蔽等措施。
电流平波:由于PWM开关瞬间能量比较大,因此在PWM功放输出端采用RC滤波器来滤波,通过选择合适的电阻和电容值,有效地抑制了高频谐波,吸收了PWM功放尖峰电压,减小了干扰;
去毛刺:系统在电源端加大滤波电容,一大一小两个电容并联使用,大电容肩负低频交变信号的去耦、滤波、平滑作用,小电容消除电路网络中的中、高频寄生耦合,有效减小了尖峰毛刺;
屏蔽:电机驱动线缆采取双屏蔽电缆,走线尽可能与其他线缆分开。

图4 驱动硬件电路图
3.控制系统软件实现
控制系统采用速度-位置闭环的组合方式,以位置控制方式为例介绍软件的实现方法,位置控制在经典PI控制算法的基础上,对比例和积分参数进行简化设计,并引入了分段PI控制,即把计算出的误差进行分段,在每一段误差范围内依靠不同的比例和积分参数参与调节。保证了系统运转更加平滑稳定,PI公式推倒及简化过程如下:
具体软件实现流程图如图5所示,即接收到给定角度指令后,首先计算采样到的位置信息与给定角度差值,然后把差值进行n等分,在每一段对应一组参数kp1和ki1参与调解控制,计算出PI控制的输出量然后转换成对应的PWM数值输出。

图5 软件流程图
结束语
本文总计了基于80C196KC与L298N的直流电机PWM控制系统设计方案,由单片机产生PWM信号给功率集成电路L298N,采用经典的PI分段控制实现对电机的控制,其具有电路简单,控制方便等特点。运行试验结果表明,系统工作稳定可靠,满足调速功能要求,已成功应用在多个机载产品中。
电话:18923864027(同微信)
QQ:709211280
〈烜芯微/XXW〉专业制造二极管,三极管,MOS管,桥堆等,20年,工厂直销省20%,上万家电路电器生产企业选用,专业的工程师帮您稳定好每一批产品,如果您有遇到什么需要帮助解决的,可以直接联系下方的联系号码或加QQ/微信,由我们的销售经理给您精准的报价以及产品介绍