自动三相交流稳压电源数控稳压,准确稳定,精度±1%以内。 合理设计、优质材料、无接触点、线性稳压、超载能力强。 输出电压过高、过低、欠相、逆相自动侦测,自动报警,自动跳脱。 当关机或停电再复电时,本稳压器将电压稳定后再输出,任何情况下皆不会产生高压输出,以?;じ涸厣璞?。
什么是自动三相交流稳压电源
自动三相交流稳压电源的工作原理

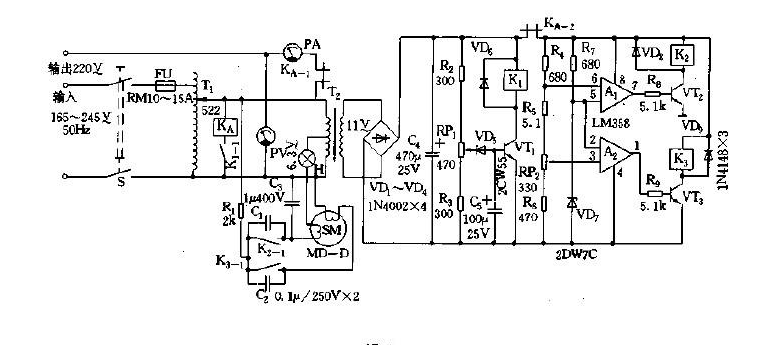
工作原理:图 1 所示稳压电源由主回路、取样控制电路、驱动伺服系统、过压检测及?;さ缏返茸槌?。带有滑动臂的自耦变压器的 T1 作为主回路,其输入端固定,输出端由伺服电机 SM、电源变压器 T2、指示灯 H、取样控制、驱动电路提供工作电压。电源变压器 T2 的初级与 T1 的输出端并联,当输出端电压发生变化时,T2 的次级电压也随之变化。这一变化的电压经二极管 VD1~VD4 桥式整流,电容 C4 滤波后变为直流加到由 R4~R6、RP2 组成的采样电路。采样电路输出与 R7、VD7 组成的基准电路的基准电压共同加至电压比较器 A1、A2 进行比较。若电网电压过高,超出了本调压器的调节范围时,检测电阻 R2、R3 与 RP1 输出的电压值使稳压二极管 VD5 击穿,三极管 VT1 导通,继电器 K1 吸合,其触点 K1-1 吸合,使交流接触器 Ka 通电,其触点 Ka-1 与 Ka-2 均断开,切断输出电压及采样控制电路,使伺服电机 SM 停止工作,有效地?;ち烁涸睾退欧缁?SM。当电网电压恢复正常后,输出自动接通。
自动三相交流稳压电源的作用
自动三相交流稳压电源的作用是当输出电压过高、过低、欠相、逆相自动侦测,自动报警,自动跳脱。 当关机或停电再复电时,本稳压器将电压稳定后再输出,任何情况下皆不会产生高压输出,以?;じ涸厣璞?。
烜芯微专业制造二极管,三极管,MOS管,桥堆等20年,工厂直销省20%,4000家电路电器生产企业选用,专业的工程师帮您稳定好每一批产品,如果您有遇到什么需要帮助解决的,可以点击右边的工程师,或者点击销售经理给您精准的报价以及产品介绍
烜芯微专业制造二极管,三极管,MOS管,桥堆等20年,工厂直销省20%,4000家电路电器生产企业选用,专业的工程师帮您稳定好每一批产品,如果您有遇到什么需要帮助解决的,可以点击右边的工程师,或者点击销售经理给您精准的报价以及产品介绍