MOS 管根据导电沟道的类型可以分为 N 沟道和 P 沟道两种。在 MOS 管形成导电沟道的过程中,会涉及到耗尽层和反型层两个概念,那么它们到底有什么区别呢?
耗尽层,顾名思义,是指在 MOS 管中电子被耗尽的区域。
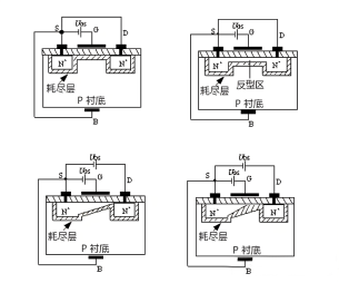
在 N 沟道 MOS 管中,当栅极施加正电压时,栅极附近的电子被排斥,形成一个电子空缺区域,这就是耗尽层。相反,在 P 沟道 MOS 管中,当栅极施加负电压时,栅极附近的空穴被排斥,形成一个空穴空缺区域,这也是耗尽层。
这里要敲重点,耗尽层中的载流子浓度非常低,几乎为零,所以它具有很高的电阻。
反型层,则是指在 MOS 管中由于栅极电压的施加,导致载流子类型发生反转的区域。
在 N 沟道 MOS 管中,当栅极施加正电压时,排斥空穴的同时,也会吸引衬底中的自由电子。这些电子被吸引到耗尽层和绝缘层(SiO2)之间,形成一个 n 型薄区,称为反型层。反型层中的载流子类型与衬底相反,因此在 N 沟道 MOS 管中,反型层为 p 型。同样,在 P 沟道 MOS 管中,当栅极施加负电压时,排斥电子的同时,也会吸引衬底中的空穴。
这些空穴被吸引到耗尽层和绝缘层之间,形成一个 p 型薄区,称为反型层。反型层中的载流子类型与衬底相反,因此在 P 沟道 MOS 管中,反型层为 n 型。


回到本文主题 耗尽层和反型层有什么区别呢?
简单来说,它们都是由于栅极电压的施加,在 MOS 管中形成的特殊区域。但它们的载流子类型不同,耗尽层中的载流子浓度几乎为零,而反型层中的载流子类型与衬底相反。此外,耗尽层在 MOS 管工作过程中会随着栅极电压的变化而变化,而反型层则相对稳定。
此外,耗尽层和反型层在 MOS 管中的作用有所不同:耗尽层主要是排斥栅极附近的电子,降低漏电流;而反型层则是形成源漏之间的导电沟道,负责电流的传输。
两者之间的区别可以用一句话概括:耗尽层是“电子荒漠”,反型层是“电子通道”。
最后,我们来讲下耗尽层和反型层的实际应用情况
1. 结构方面:耗尽层是一种电子空缺区域,几乎没有自由电子;而反型层是一种电子浓度较高的 n 型薄区,可以导电。
2. 功能方面:耗尽层主要作用是隔离源漏,防止电流流过去;反型层则是负责在源漏之间形成导电沟道,承担电流传输任务。
3. 电流方向:在NMOS 管中,耗尽层处于栅极和源极之间,反型层处于栅极和漏极之间;在 PMOS 管中,耗尽层和反型层的位置刚好相反。

〈烜芯微/XXW〉专业制造二极管,三极管,MOS管,桥堆等,20年,工厂直销省20%,上万家电路电器生产企业选用,专业的工程师帮您稳定好每一批产品,如果您有遇到什么需要帮助解决的,可以直接联系下方的联系号码或加QQ/微信,由我们的销售经理给您精准的报价以及产品介绍

〈烜芯微/XXW〉专业制造二极管,三极管,MOS管,桥堆等,20年,工厂直销省20%,上万家电路电器生产企业选用,专业的工程师帮您稳定好每一批产品,如果您有遇到什么需要帮助解决的,可以直接联系下方的联系号码或加QQ/微信,由我们的销售经理给您精准的报价以及产品介绍
联系号码:18923864027(同微信)
QQ:709211280