集成运算放大器(以后简称集成运放)是一种高电压增益、高输入电阻和低输出电阻的多级直接耦合放大电路。它的类型很多,电路也不一样,但结构具有共同之处,下图所示为集成运放的内部电路组成框图。


图中输入级一般是由 BJT、JFET 或 MOSFET 组成的差动放大电路,利用它的对称特性可以提高整个电路的共模抑制比和其他方面的性能,它的两个输人端构成整个电路的反相输入端和同相输入端。
运算放大器用差分放大器作输入级,运放的特性使它们在电子线路中很有用。运放有如下的特性:
1. 抑制共模信号:有利于降低交流哼声和噪声。
2. 高输入阻抗:容易与高阻抗信号源配合使用。
3. 高增益:运放有很高的增益,使用时增益常常通过负反馈减少。
4. 输出阻抗低:能向一个低阻抗的负载输出大的信号电流。
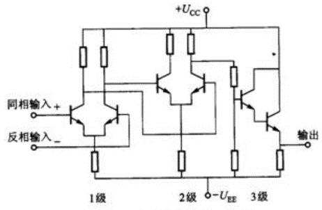
单级放大器不可能具备以上全部优良的性能。实际上运算放大器是几级放大器的结合。如下图所示,多级电路中的第一级是差分放大器。差分放大器有高共模抑制比和高输入阻抗。有些运算放大器为了得到更高的输入阻抗在第一级用了场效应管。具有 BJT 和 FET 两种器件结合的运算放大器称之为 BIFET 运算放大器。
下图的第二级也是差分放大器,使第一级以差动方式输出,得到最好的共模抑制性能和差动电压增益。


图中的第三级是共集电极电路,或射极跟随器,这种组态输出阻抗低。注意输出是信号的终端,可以不用差动输出,而用单端输出。在很多电子学的应用中只要求单端输出。
图中注明,一个输入端是同相输入端,另一个输入端是反相输入端。同相输入端指由该端输入信号与输出端同相。反相输入端指输入信号与输出端信号相差 180°。
下图用简化的方法显示了放大特性。注意三角形,在电路原理图中常用三角形表示放大器。同时要注意反相输入端用(一)号标明,同相端用(+)标明,这是通常的习惯。


下图是国产通用集成运放 F007 的内部电路原理图,国外同类器件有 uA741、LM741 等。该器件有一个同相输入端、一个反相输入端和一个单端输出端。T1、T2、T3、T4 组成差分输入级;T5、T6 是恒流源;TI6、T17 是电压放大级、T18、T19、T23、T14、T20 组成互补输出功率放大器;T15、T21、R6、R7 组成输出过流?;さ缏罚墓ぷ髟砦颐墙谑逭绿致?其他晶体管和电阻组成恒流源与偏置电路;Cb 是内部频率补偿电容。T5、T6 还有两个补偿端点,这两个端点是用于对直流漂移误差进行校正。不可能生产出完全匹配的三极管和电阻的放大器,总有些偏差。在没有差动直流输入时,理想运算放大器的输出应是零伏,任何偏离电压称作直流失调误差。


F007(LM741)集成运算放大器内部电路
下图显示了一个典型的调零应用电路。下图中同相端与反相端同时接地表示输入应同时为零,此时调节电位器使输出端直流电位处在地电位。电位器调节范围有限,设计调零电路以克服内部偏移量,它在毫伏范围。它不是用于当外电路有一个大的直流差动输入信号时输出调零。在很多应用中,较小的失调量没有问题,不用调零。


凋零端的使用
多数的运放是集成的,我们看不到集成电路内部有什么,也不便于进行测量。使用时没有必要显示详细内部原理图。下图是表示运算放大器的两种典型方法,三角形都代表放大器,本文中用图(b)表示运算放大器。

〈烜芯微/XXW〉专业制造二极管,三极管,MOS管,桥堆等,20年,工厂直销省20%,上万家电路电器生产企业选用,专业的工程师帮您稳定好每一批产品,如果您有遇到什么需要帮助解决的,可以直接联系下方的联系号码或加QQ/微信,由我们的销售经理给您精准的报价以及产品介绍

〈烜芯微/XXW〉专业制造二极管,三极管,MOS管,桥堆等,20年,工厂直销省20%,上万家电路电器生产企业选用,专业的工程师帮您稳定好每一批产品,如果您有遇到什么需要帮助解决的,可以直接联系下方的联系号码或加QQ/微信,由我们的销售经理给您精准的报价以及产品介绍
联系号码:18923864027(同微信)
QQ:709211280