c945参数与管脚图
C945是常用的小功率NPN型晶体管,封装形式为TO-92,可以驱动的最大负载约为150mA,可以用于如放大、开关、稳压等电路中。
c945电气参数:
集电极-发射极电压VCEO:50V
集电极-基极电压VCBO:60V
发射极-基极电压VEBO:5V
集电极电流Ic:100mA
基极电流IB:20mA
集电极发射极饱和电压VCE(sat):0.15V
耗散功率TA =25℃ PD:250mW
操作和存储结温范围 TJ,Tstg:-55 - 150℃


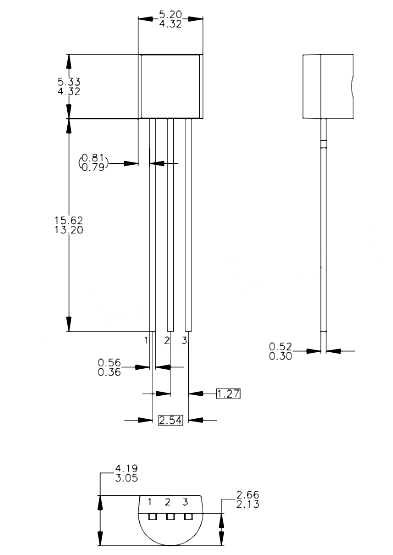
c945引脚图尺寸


C945的引脚分别为基极(B)、集电极(C)和发射极(E),其中集电极为正极,发射极为负极。
当基极电流为零时,C945处于截止状态,此时集电极和发射极之间的电阻很大,近似于开路。
当基极加上正向电流时,C945进入放大状态,此时集电极和发射极之间的电阻大大降低,可以输出较大的电流,实现信号放大。
当基极加上反向电流时,C945进入饱和状态,此时集电极和发射极之间的电阻很小,近似于短路,可以用于开关电路。
〈烜芯微/XXW〉专业制造二极管,三极管,MOS管,桥堆等,20年,工厂直销省20%,上万家电路电器生产企业选用,专业的工程师帮您稳定好每一批产品,如果您有遇到什么需要帮助解决的,可以直接联系下方的联系号码或加QQ/微信,由我们的销售经理给您精准的报价以及产品介绍
联系号码:18923864027(同微信)
QQ:709211280