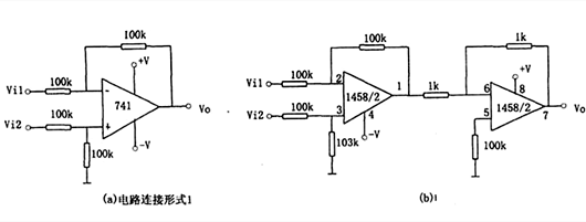
通用减法器电路
图(a)电路输入输出关系为:V0=Vi2-Vi1图中放大器的输出信号电压极性通常与输入电压极性相同。如果要求反相输出,则采用图(b)所示电路。其输入输出关系为:Vo=Vi1-Vi2。

INA105构成的减法电路
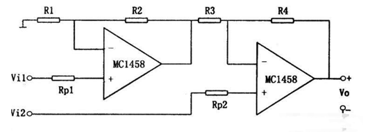
如图所示为其他器件组成的减法电路(2)。该电路输入输出关系为:Vo=Vi2-Vi1。

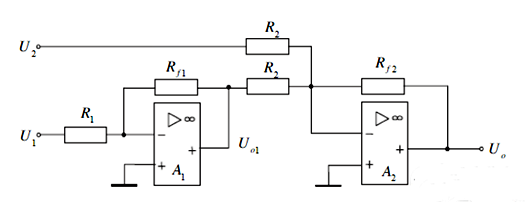
从同相端输入的两运放减法电路
如图所示为从同相端输入的两运放减法电路。

用加法电路构成减法电路

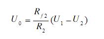
如上图所示,第一级为反相比例放大电路,若Rf1=R1,则Uo1=-U1;第二级为反相加法电路,则可导出

如果R2=Rf2,则上式变为

〈烜芯微/XXW〉专业制造二极管,三极管,MOS管,桥堆等,20年,工厂直销省20%,上万家电路电器生产企业选用,专业的工程师帮您稳定好每一批产品,如果您有遇到什么需要帮助解决的,可以直接联系下方的联系号码或加QQ/微信,由我们的销售经理给您精准的报价以及产品介绍
联系号码:18923864027(同微信)
QQ:709211280