运放的输入失调电压和输入失调电流
输入失调电压(Vos)
如果运放两个输入端上的电压均为 0V,则输出端电压也应该等于 0V。但事实上,输出端总有一些电压,该电压称为失调电压 VOS。
如果将输出端的失调电压除以电路的噪声增益,得到结果称为输入失调电压或输入参考失调电压。这个特性在数据表中通常以 VOS给出。VOS被等效成一个与运放反相输入端串联的电压源。必须对放大器的两个输入端施加差分电压,以产生 0V 输出。
温度漂移(Drift)
Vos随着温度的变化而改变,这种现象称为漂移,漂移的大小随时间而变化。漂移的温度系数TCVos通?;嵩谑荼碇懈觯恍┰朔攀荼斫鎏峁┛杀Vて骷诠ぷ魑露确段诎踩ぷ鞯牡诙蠡蛘咦畲蟮腣os。这种规范的可信度稍差,因为TCVos可能是不恒定的,或者是非单调变化的。
Vos漂移或者老化通常以mv/月或者mV/1000小时来定义。但这个非线性函数与器件已使用时间的平方根成正比。例如,老化速度1mV/1000小时可转化为大约3mV/年,而不是9mV/年。老化速度并不总是在数据表中给出,即使是高精度运放。
输入偏置电流(Ibs)
理想运放的输入阻抗无穷大,因此不会有电流流入输入端,但是,在输入级中使用双极结型晶体管(BJT)的真实运放需要一些工作电流,该电流称为偏置电流(IB)。
通常有两个偏置电流:IB+和IB-,它们分别流入两个输入端。IB值的范围很大,特殊类型运放的偏置电流低至60fA(大约每3us通过一个电子),而一些高速运放的偏置电流可高达几十mA。
输入失调电流(Ios)
单片运放的制造工艺趋于使电压反馈运放的两个偏置电流相等,但不能保证两个偏置电流相等。但不能保证两个偏置电流相等。在电流反馈运放中,输入端的不对称特性意味着两个偏置电流几乎总是不相等的。这两个偏置电流之差为输入失调电流Ios,通常情况下Ios很小。

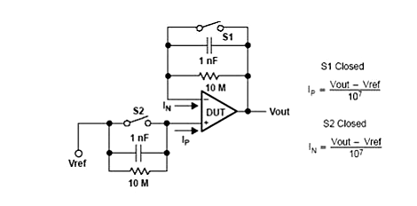
对于失调电压,一般是设置一个很大的增益并且把输入短接。这时候的输出电压除以增益就是失调电压的大小。

对于失调电流,则是用一个很大的电阻接在反馈回路上。S1闭合时,测同相端的偏流Ip,S2闭合的时候测反相端的偏流In。

这里的“失调”电流测法实际上测得的是“偏置电流”而非“失调电流”,当然,分别测出了+-端的“偏置电流”后,也可以得知“失调电流”----等于二者的差。
上面具体例子中的电阻值选取对于有些情况不太合适,一般运放的偏置电流只有若干nA数量级,如果采用10M电阻,那么由于偏置电流造成的输出电压只有若干mV,而且此时还包括了“失调电压”的影响(偏大或偏小都有可能,具体取决于失调电压的极性)。
所以,测量nA量级的偏置电流,电阻还得取大些,使Ibias*R达到v级,此时也不用扣除失调电压的影响了(5mv的失调电压对1v的输出电压来说,对测量结果的影响只有0.5%)。
运放的输入失调电压电流怎么计算
输入失调电压VIO
一个理想的运放,当输入电压为零时,输出电压也应为零(不加调零装置)。但实际上它的差分输入级很难做到完全对称,通常在输入电压为零时,存在一定的输出电压,该电压称为失调电压VIO。
在室温(25℃)及标准电源电压下,输入电压为零时,为了使运放的输出电压为零,在输入端加的补偿电压即失调电压VIO。实际上指输入电压Vi=0时,输出电压Vo折合到输入端的电压的负值,Vio被等效成一个与运放反相输入端串联的电压源。
必须对放大器的两个输入端施加差分电压,以产生0V输出。即
Vio=-(Vo│v=0)/Avo
Vio的大小反应了运放制造中电路的对称程度和电位配合情况。Vio值愈大,说明电路的对称程度愈差,一般约为±(1~10)mV。
Vio随着温度的变化而改变,这种现象称为漂移,漂移的大小随时间而变化。漂移的温度系数TCVio通?;嵩谑荼碇懈?,但一些运放数据表仅提供可保证器件在工作温度范围内安全工作的第二大或者最大的Vio。这种规范的可信度稍差,因为TCVio可能是不恒定的,或者是非单调变化的。
Vio漂移或者老化通常以mV/月或者mV/1,000小时来定义。但这个非线性函数与器件已使用时间的平方根成正比。例如,老化速度1mV/1,000小时可转化为大约3mV/年,而不是9mV/年。老化速度并不总是在数据表中给出,即便是高精度运放。
输入失调电流Ιio
在BJT集成电路运放中,由于制造工艺趋于使电压反馈运放的两个偏置电流相等,但不能保证两个偏置电流相等。在电流反馈运放中,输入端的不对称特性意味着两个偏置电流几乎总是不相等的。
这两个偏置电流之差为输入失调电流Ιio,输入失调电流 offset current, 是指两个差分输入端偏置电流的误差,即当输出电压为零时流入放大器两输入端的静态基极电流之差,即
Iio=│Ibp-Ibn│
由于信号源内阻的存在,Iio会引起一输入电压,破坏放大器的平衡,使放大器输出电压不为零。所以,希望Iio愈小愈好,它反映了输入级有效差分对管的不对称程度,一般约为1 nA~0.1 mA.
〈烜芯微/XXW〉专业制造二极管,三极管,MOS管,桥堆等,20年,工厂直销省20%,上万家电路电器生产企业选用,专业的工程师帮您稳定好每一批产品,如果您有遇到什么需要帮助解决的,可以直接联系下方的联系号码或加QQ/微信,由我们的销售经理给您精准的报价以及产品介绍
联系号码:18923864027(同微信)
QQ:709211280