一、集成电路及其特点
集成电路是利用氧化,光刻,扩散,外延,蒸铝等集成工艺,把晶体管,电阻,导线等集中制作在一小块半导体(硅)基片上,构成一个完整的电路。按功能可分为模拟集成电路和数字集成电路两大类,其中集成电路运算放大器(线性集成电路,以下简称集成运放)是模拟集成电路中应用最广泛的,它实质上是一个高增益的直接耦合多级放大电路。
集成电路的特点
1. 单个元件精度不高,受温度影响也大,但元器件的性能参数比较一致,对称性好。适合于组成差动电路。
2. 阻值太高或太低的电阻不易制造,在集成电路中管子用得多而电阻用得少。
3. 大电容和电感不易制造,多级放大电路都用直接耦合。
4. 在集成电路中,为了不使工艺复杂,尽量采用单一类型的管子,元件种类也要少所以,集成电路在形式上和分立元件电路相比有很大的差别和特点。常用二极管和三极管组成的恒流源和电流源代替大的集电极电阻和提供微小的偏量电流,二极管用三极管的发射结代替
5. 在集成电路中,NPN管都做成纵向管,β大;PNP管都做成横向管,β小而PN结耐压高。NPN管和PNP管无法配对使用。对PNP管,β和(β+1)差别大,IB往往不能忽略。
二、集成运放电路的组成及各部分的作用
1. 组成


2. 作用
如图所示,集成运放电路由四部分组成,输入级是一个双端输入的高性能差动放大电阻,要求其Ri高,Aod大,KCMR大,静态电流小,该级的好坏直接影响集成运放的大多数性能参数,所以更新变化最多。中间级的作用是使集成运放具有较强的放大能力,故多采用复合管做放大管,以电流源做集电极负载。输出级要求具有线性范围宽,输出电阻小,非线性失真小等特点。偏置电路用于设置集成运放各级放大电路的静态工作点
三、集成运放的电压传输特性


1.符号
同相输入端表示输入电压与输出电压相位相同,若uP >0,则uO >0;uP <0,则uO <0.
反相输入端表示输入电压与输出电压相位相反,若uN >0,则uO <0;反之uN <0,则uO >0.
2.电压的传输特性


所谓电压传输特性,实际上是一种关系曲线如图4-3,即输出电压uo和输入电压ui之间的关系曲线。关系曲线明显地为两个区域,线性放大区和饱和区,斜线反映了线性放大区输入与输出之间的关系。斜率就是电压放大倍数Av=uo/ui,输出与输入幅值(或有效值)之比,两端水平线是饱和区的现象,表明输出电压uo不随输入ui =uP - uN 而变,而是恒定值+Uom(或-Uom),由特性曲线还看出线性区非常窄,这是因为差??贩糯蟊妒鼳od非常高,可达几十万倍,只有当ui =|uP - uN |< 28μV时,电路才工作在线性区。
四、集成运放中的电流源电路
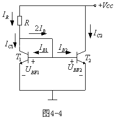
1.镜像电流源(图4-4)
1 组成
由三极管T2和接成二极管T1的组成,发射结并联,即UBE1 = UBE2


2 工作原理
IC2 = IR /(1+2/β) (4-1)
如果β>>2,则
IC2 ≈ IR = (VCC-UBE)/R (4-2)
3 问题
a)IC2随VCC变化; b)要使IC2小,R必须很大
c)对温度漂移没有抑制作用 d)输出电阻不够大 RO =rce2
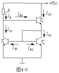
2.威尔逊电流源(图4-5)
1 组成
在镜像电流源基础上加了T3
2 工作原理


(4-3)


其中
IR =(VCC-UBE3-UBE2)/R (4-3)
3 特点和问题
恒流输入管T3的Re3 ≈rbe /2,使它的IC3稳定性大为提高,IC3与IR之间的误差也大大减小。但电源电压变化时,IC3和IR几乎按同样比例变化。要求 为uA级时,R仍然太大。
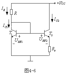
3.微电流源(图4-6)
1 组成
在镜像电流源T2管的发射极上加接电阻Re 。


2 工作原理
UT .ln(IC1 /IC2)=IC2Re (4-4)
3 特点
小而稳。用不大的Re就可以使IC2为uA级。由于引入Re, IC2更加稳定。由于UBE2 <<UBE1,T2管工作在输入特性起始段,电源电压变动对IC2影响小。
4.多路电流源
用同一个参数电流IR ,同时产生几个输出电流,给多个放大管提供偏置电流或作为有源负载。
5.电流源的应用
1 为集成运放各级提供小而稳的偏置电流
2 作为各放大级的有源负载,提高电压增益。
优点:
(a)用三极管代替大电阻,节省硅片面积,降低成本。
(b)用较少的级数可获得很高的增益,由于级数少和电路输出阻抗大,集成运放的消振问题容易解决
(c)由于放大管集电极电流与集电极电位无关,电路可以在很宽的电源电压范围内工作而偏置电流基本不变。
电话:18923864027(同微信)
QQ:709211280
〈烜芯微〉专业制造二极管,三极管,MOS管,桥堆等20年,工厂直销省20%,上万家电路电器生产企业选用,专业的工程师帮您稳定好每一批产品,如果您有遇到什么需要帮助解决的,可以点击右边的工程师,或者点击销售经理给您精准的报价以及产品介绍
电话:18923864027(同微信)
QQ:709211280
〈烜芯微〉专业制造二极管,三极管,MOS管,桥堆等20年,工厂直销省20%,上万家电路电器生产企业选用,专业的工程师帮您稳定好每一批产品,如果您有遇到什么需要帮助解决的,可以点击右边的工程师,或者点击销售经理给您精准的报价以及产品介绍