可变增益放大器是GPS接收机中的一个关键??椋敕蠢』仿纷槌傻淖远鲆婵刂频缏肺#黄?ADC)提供恒定的信号功率。模拟信号控制增益的VGA增益连续变化,但是线性度较差。
这里采用电阻形式的负反馈的放大器来设计一个0~30 dB增益变化的中频可变增益放大器,VGA的增益精度并不取决于工艺、电压和温度等因素对电阻、MOS管开关的影响,增益误差在各个工艺角下都小于5%。
1 可变增益放大器原理
模拟电路需要对信号进行放大或衰减,这一功能可由可变增益放大器(VGA)实现。它在无线通信的收/发信机模拟前端中,起着至关重要的作用。图1是用于GPS的接收机模拟前端图。处于基波频率的VGA补偿射频??楹椭衅的?榈脑鲆嫠ゼ酰籚GA将输出信号放大到A/D转换器需要的幅度。AGC环路改变接收机的增益,调整各级信号动态范围,稳定输出信号功率的作用。


对于VGA电路,IIP3和THD是重要的指标,因为它的输出信号幅度很大。其次,为了实现宽增益范围调节,同时保持不同增益输入功率下恒定的输出建立时间,要求VGA的增益与控制电压成dB线性。VGA增益步长越小越精确,则对ADC的要求越降低。在文中,数字控制的VGA电路提供了30 dB的增益控制范围,使用7b精确控制增益大小,所耗面积和功耗小。
2 可变增益放大器结构与性能比较
VGA主要分为开环和闭环两种结构。一种常见的开环结构是文献[1]采用的Gilbert结构,如图2所示电路。Ms上加一个基准电压,电压Vc控制耦合电流的大小,起到改变增益的作用。但是此结构电路堆叠了四层电路,限制了输出电压的摆幅,而且此电路不能实现指数增益的控制。这些运用最广泛的开环结构中,可变增益放大器主要基于简单差分,或者是伪差分对,使用源极反馈技术,模拟乘法器和使用二极管连接的MOS管作为负载等技术。这些结构最大的问题就是线性度和失真度的问题。
因为负反馈电路具有稳定输出,降低非线性失真的作用,所以闭环结构呈现更好的线性度。常见的闭环电路结构中的VGA使用电阻阵列实现增益控制,例如将电阻和MOS管串联,控制MOS管开关的通断状态实现阻值的变化,进而改变放大器的增益。因为继承电路中的电阻、MOS管开关都受到工艺、电压、温度的影响,难以实现精确的阻值,所以PGA的增益精度有限。文献[9]使用电流分割技术,实现了精确的增益控制,文献[10]对电阻网络进行了改进,但是这些电路复杂,额外电路也增加了功耗。这里在没有增加任何设计复杂性的情况下,实现了较为精确的增益控制。
3 高性能VGA结构和实现
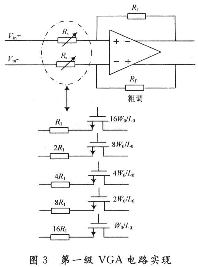
为了达到要求的增益控制范围和步长,使用两个级联的VGA。第一个部分的VGA实现6 dB步长的增益控制,另一个部分实现精准的O.5 dB步长。因此整个VGA实现了粗调和细调(见图2)。


当运算放大器的增益足够大时,闭环VGA的增益等于两个电阻的比值:Gain=-Rf/Rs,改变电阻可以实现增益的变化。粗调的阻值变化很大,改变反馈Rf,会影响粗调输出节点的极点;电阻Rs可变,它对前级将形成变化的负载效应。选择改变Rs,在前级增加缓冲电路进行隔离。
首先进行第一级6 dB步长增益的考虑:取Rf=R0,Rs=R1,实现3 dB的增益,那么Rf不变,Rs=2R1,则实现9 dB的增益。同理:当Rs=4R1,实现15 dB增益;当Rs=8R1,实现21 dB增益;当Rs=16R1,实现27 dB增益。
为了更好地匹配,对与电阻串联的MOS管开关尺寸按图3比例设计,Rs等于MOS管的导通电阻和多晶硅电阻,MOS导通电阻与W/L成反比。


再考虑第二级O.5 dB步长增益可以发现,O.95转化为dB值等于-0.445 5 dB。0.9为-0.915 dB,0.85为-1.412 dB,O.8为-1.938 dB,0.75为-2.499 dB,O.7为-3.098 dB。1~0.7之间O.05的间隔对应于dB中基本接近于0.5 dB的间隔。使用这个规律,设计可以如下:


两级VGA就可以实现O~29.5 dB(2.5 dB+27 dB=29.5 dB)增益控制,且步长可以比较精准地达到O.5 dB。由于设计中用的都是电阻的相对值,所以电阻、MOS管开关都受到工艺电压和温度等因素VGA的增益精度的影响会很小。
如图4所示,可变电阻R1是用多晶硅电阻和工作在晶体管区的MOS开关来实现的。开关电阻通常被用在低失真可调模拟??椤OS晶体管的非线性将产生谐波以及交调失真,这将会降低整个电路的线性度。在文献[11]中,推导出一个近似的公式来接近开关管的非线性特性。


输入电压Vin被转换成非线性电流Iin流入电流模式的VGA放大器。在弱非线性网络中,已经使用Vol-terra级数推导出非线性谐波失真(HD2和HD3)。


式中:Vin是输入的电压的峰值;R1等于R1α+Rds的总和;α2,α3是二次、三次非线性系数。因此如果把开关管放置在运放的虚地端(即运放的输入端),则HD2和HD3近似等于0。
4 版图与后仿真结果
图5是用SMIC 0.18μm CMOS工艺实现的VGA版图,芯片面积为:510μm×160μm,整个版图包括VGA核心部分,直流偏移消除模块,和CMOS源极跟随缓冲电路,恒定Gm的偏置电路。


图6~图8给出了VGA在Candence环境下用Spectre工具模拟得到的后仿真结果。图6为输入阶越跳变,得到的输出瞬态响应曲线。


图7为不同的数字增益设置对应的VGA增益。图8是放大器不同增益的频域响应。其增益从0 dB变化到29.5 dB,其中0.5 dB一档。
5 结 语
本文介绍一种O.18μm CMOS工艺实现,应用于GPS全球定位系统得可变增益放大器。文中巧妙地应用反馈系统中环路稳定性理论设计放大器;在增益步长的控制上,增益随bit线性化,并保证增益精度不受工艺角偏差影响。仿真结果表明,该放大器适合在接收机模拟前端中使用。
烜芯微专业制造二极管,三极管,MOS管,桥堆等,20年,工厂直销省20%,1500家电路电器生产企业选用,专业的工程师帮您稳定好每一批产品,如果您有遇到什么需要帮助解决的,可以直接联系上方的联系号码或加QQ,由我们的销售经理给您精准的报价以及产品介绍
烜芯微专业制造二极管,三极管,MOS管,桥堆等,20年,工厂直销省20%,1500家电路电器生产企业选用,专业的工程师帮您稳定好每一批产品,如果您有遇到什么需要帮助解决的,可以直接联系上方的联系号码或加QQ,由我们的销售经理给您精准的报价以及产品介绍