同城上门服务约,同城月抛200一晚,24小时QQ快餐学生,同城300快餐不限次数

您好!欢迎光临烜芯微科技品牌官网!

深圳市烜芯微科技有限公司

ShenZhen XuanXinWei Technoligy Co.,Ltd
二极管、三极管、MOS管、桥堆

全国服务热线:18923864027

  • 热门关键词:
  • 桥堆
  • 场效应管
  • 三极管
  • 二极管
  • 详细解析MOS管示意图,构造知识要点
    • 发布时间:2020-11-27 16:54:58
    • 来源:
    • 阅读次数:
    详细解析MOS管示意图,构造知识要点
    MOS管示意图,构造解析
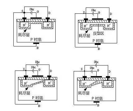
    下图MOS管工作原理示意图为N沟道增强型MOS管工作原理示意图,其电路符号如图所示。它是用一块掺杂浓度较低的P型硅片作为衬底,利用扩散工艺在衬底上扩散两个高掺杂浓度的N型区(用N+表示),并在此N型区上引出两个欧姆接触电极,分别称为源极(用S表示)和漏极(用D表示)。
    在源区、漏区之间的衬底表面覆盖一层二氧化硅(SiO2)绝缘层,在此绝缘层上沉积出金属铝层并引出电极作为栅极(用G表示)。从衬底引出一个欧姆接触电极称为衬底电极(用B表示)。由于栅极与其它电极之间是相互绝缘的,所以称它为绝缘栅型场效应管。MOS管工作原理示意图中的L为沟道长度,W为沟道宽度。
    MOS管示意图,构造
    MOS管示意图,构造解析:上图所示的MOSFET,当栅极G和源极S之间不加任何电压,即 UGS=0 时,由于漏极和源极两个N+型区之间隔有P型衬底,相当于两个背靠背连接的PN结,它们之间的电阻高达1012W的数量级,也就是说D、S之间不具备导电的沟道,所以无论漏、源极之间加何种极性的电压,都不会产生漏极电流ID。
    当将衬底B与源极S短接,在栅极G和源极S之间加正电压,即UGS﹥0时,MOS管工作原理示意图(a)所示,则在栅极与衬底之间产生一个由栅极指向衬底的电场。在这个电场的作用下,P衬底表面附近的空穴受到排斥将向下方运动,电子受电场的吸引向衬底表面运动,与衬底表面的空穴复合,形成了一层耗尽层。
    如果进一步提高UGS电压,使UGS达到某一电压UT时,P衬底表面层中空穴全部被排斥和耗尽,而自由电子大量地被吸引到表面层,由量变到质变,使表面层变成了自由电子为多子的N型层,称为“反型层”,MOS管工作原理示意图(b)所示。
    反型层将漏极D和源极S两个N+型区相连通,构成了漏、源极之间的N型导电沟道。把开始形成导电沟道所需的UGS值称为阈值电压或开启电压,用UT表示。显然,只有UGS﹥UT时才有沟道,而且UGS越大,沟道越厚,沟道的导通电阻越小,导电能力越强。这就是为什么把它称为增强型的缘故。
    在UGS﹥UT的条件下,如果在漏极D和源极S之间加上正电压UDS,导电沟道就会有电流流通。漏极电流由漏区流向源区,因为沟道有一定的电阻,所以沿着沟道产生电压降,使沟道各点的电位沿沟道由漏区到源区逐渐减小,靠近漏区一端的电压UGD最小,其值为UGD=UGS-UDS,相应的沟道最薄;靠近源区一端的电压最大,等于UGS,相应的沟道最厚。
    这样就使得沟道厚度不再是均匀的,整个沟道呈倾斜状。随着UDS的增大,靠近漏区一端的沟道越来越薄。
    MOS管示意图,构造
    当UDS增大到某一临界值,使UGD≤UT时,漏端的沟道消失,只剩下耗尽层,把这种情况称为沟道“预夹断”,MOS管工作原理示意图(a)所示。继续增大UDS(即UDS>UGS-UT),夹断点向源极方向移动,MOS管工作原理示意图(b)所示。
    尽管夹断点在移动,但沟道区(源极S到夹断点)的电压降保持不变,仍等于UGS-UT。因此,UDS多余部分电压[UDS-(UGS-UT)]全部降到夹断区上,在夹断区内形成较强的电场。这时电子沿沟道从源极流向夹断区,当电子到达夹断区边缘时,受夹断区强电场的作用,会很快的漂移到漏极。
    耗尽型。耗尽型是指,当VGS=0时即形成沟道,加上正确的VGS时,能使多数载流子流出沟道,因而“耗尽”了载流子,使管子转向截止。耗尽型MOS场效应管,是在制造过程中,预先在SiO2绝缘层中掺入大量的正离子,因此,在UGS=0时,这些正离子产生的电场也能在P型衬底中“感应”出足够的电子,形成N型导电沟道。
    MOS管示意图,构造解析
    MOS管学名是场效应管,是金属-氧化物-半导体型场效应管,属于绝缘栅型。其结构示意图:
    MOS管示意图,构造
    沟道上面图中,下边的p型中间一个窄长条就是沟道,使得左右两块P型极连在一起,因此mos管导通后是电阻特性,因此它的一个重要参数就是导通电阻,选用mos管必须清楚这个参数是否符合需求。
    n型上图表示的是p型mos管,读者可以依据此图理解n型的,都是反过来即可。因此,不难理解,n型的如图在栅极加正压会导致导通,而p型的相反。
    增强型相对于耗尽型,增强型是通过“加厚”导电沟道的厚度来导通,如图。栅极电压越低,则p型源、漏极的正离子就越靠近中间,n衬底的负离子就越远离栅极,栅极电压达到一个值,叫阀值或坎压时,由p型游离出来的正离子连在一起,形成通道,就是图示效果。
    因此,容易理解,栅极电压必须低到一定程度才能导通,电压越低,通道越厚,导通电阻越小。由于电场的强度与距离平方成正比,因此,电场强到一定程度之后,电压下降引起的沟道加厚就不明显了,也是因为n型负离子的“退让”是越来越难的。耗尽型的是事先做出一个导通层,用栅极来加厚或者减薄来控制源漏的导通。
    左右对称图示左右是对称的,难免会有人问怎么区分源极和漏极呢?其实原理上,源极和漏极确实是对称的,是不区分的。但在实际应用中,厂家一般在源极和漏极之间连接一个二极管,起?;ぷ饔茫钦飧龆芫龆嗽醇吐┘?,这样,封装也就固定了,便于实用。
    金属氧化物膜图中有指示,这个膜是绝缘的,用来电气隔离,使得栅极只能形成电场,不能通过直流电,因此是用电压控制的。在直流电气上,栅极和源漏极是断路。不难理解,这个膜越?。旱绯∽饔迷胶?、坎压越小、相同栅极电压时导通能力越强。坏处是:越容易击穿、工艺制作难度越大而价格越贵。
    与实物的区别上图仅仅是原理性的,实际的元件增加了源-漏之间跨接的?;ざ?,从而区分了源极和漏极。实际的元件,p型的,衬底是接正电源的,使得栅极预先成为相对负电压,因此p型的管子,栅极不用加负电压了,接地就能保证导通。相当于预先形成了不能导通的沟道,严格讲应该是耗尽型了。好处是明显的,应用时抛开了负电压。
    寄生电容上图的栅极通过金属氧化物与衬底形成一个电容,越是高品质的mos,膜越薄,寄生电容越大,经常mos管的寄生电容达到nF级。这个参数是mos管选择时至关重要的参数之一,必须考虑清楚。
    Mos管用于控制大电流通断,经常被要求数十K乃至数M的开关频率,在这种用途中,栅极信号具有交流特征,频率越高,交流成分越大,寄生电容就能通过交流电流的形式通过电流,形成栅极电流。消耗的电能、产生的热量不可忽视,甚至成为主要问题。为了追求高速,需要强大的栅极驱动,也是这个道理。
    试想,弱驱动信号瞬间变为高电平,但是为了“灌满”寄生电容需要时间,就会产生上升沿变缓,对开关频率形成重大威胁直至不能工作。
    如何工作在放大区Mos管也能工作在放大区,而且很常见。做镜像电流源、运放、反馈控制等,都是利用mos管工作在放大区,由于mos管的特性,当沟道处于似通非通时,栅极电压直接影响沟道的导电能力,呈现一定的线性关系。
    由于栅极与源漏隔离,因此其输入阻抗可视为无穷大,当然,随频率增加阻抗就越来越小,一定频率时,就变得不可忽视。这个高阻抗特点被广泛用于运放,运放分析的虚连、虚断两个重要原则就是基于这个特点。这是三极管不可比拟的。
    发热原因Mos管发热,主要原因之一是寄生电容在频繁开启关闭时,显现交流特性而具有阻抗,形成电流。有电流就有发热,并非电场型的就没有电流。
    另一个原因是当栅极电压爬升缓慢时,导通状态要“路过”一个由关闭到导通的临界点,这时,导通电阻很大,发热比较厉害。第三个原因是导通后,沟道有电阻,过主电流,形成发热。
    主要考虑的发热是第1和第3点。许多mos管具有结温过高?;?,所谓结温就是金属氧化膜下面的沟道区域温度,一般是150摄氏度。超过此温度,mos管不可能导通。温度下降就恢复。要注意这种?;ぷ刺暮蠊?。
    烜芯微专业制造二极管,三极管,MOS管,桥堆等20年,工厂直销省20%,4000家电路电器生产企业选用,专业的工程师帮您稳定好每一批产品,如果您有遇到什么需要帮助解决的,可以点击右边的工程师,或者点击销售经理给您精准的报价以及产品介绍
    相关阅读