高速MOS驱动应用指南
高速MOS驱动应用:双极晶体管和场效应晶体管有着相同的工作原理。从根本上说,,两种类型晶体管均是电荷控制元件,即它们的输出电流和控制极半导体内的电荷量成比例。
当这些器件被用作开关时,两者必须和低阻抗源极的拉电流和灌电流分开,用以为控制极电荷提供快速的注入和释放。从这点看,MOS-FET在不断的开关,当速度可以和双极晶体管相比拟时,它被驱动的将十分的‘激烈’。
理论上讲,双极晶体管和MOSFET的开关速度是基本相同的,这取决与载流子穿过半导体所需的时间。在功率器件的典型值为20 ~ 200皮秒,但这个时间和器件的尺寸大小有关。与双极结型晶体管相比,MOSFET在数字技术应用和功率应用上的普及和发展得益于它的两个优点。
优点之一就是在高频率开关应用中MOSFET使用比较方便。MOSFET更加容易被驱动,这是因为它的控制极和电流传导区是隔离开的,因此不需要一个持续的电流来控制。一旦MOSFET导通后,它的驱动电流几乎为0。
另外,在MOSFET中,控制电荷的积累和存留时间也大大的减小了。这基本解决了设计中导通电压降(和多余的控制电荷成反比)和关断时间之间的矛盾。因此,MOSFET技术以其更加简单的、高效的驱动电路使它比晶体管设备具有更大的经济效益。
高速MOS驱动应用:开关应用
我们来研究下MOSFET的真实开关行为。为了更好的理解其基本过程,电路中的寄生电感将会被忽略掉。随后,它们在基本工作中各自的影响将会单独的分析。
此外,下面的说明和钳位感应开关有关,这因为大多数被用于电源模式的MOSFET晶体管和高速门驱动电路工作于那个模式。

一个最简单的钳位感应开关模型如图三(Figure)所示, 直流电流源代表感应器。在开关间隔比较小的情况下,它的电流可看作是连续的。在MOSFET截止期间二极管为电流提供了一个回路,设备的漏极终端用一个电池来象征表示。
高速MOS驱动应用:导通过程
MOSFET的导通过程可分为如图4(即Figure4)所示的四个阶段。

第一个阶段:输入电容从0开始充电到Vth,在这个过程,栅极绝大部分电流都用来给电容CGS充电,也有很小的电流流过电容CGS。当电容CGS的电压增加到门的极限时,它的电压就会有稍微的减小。这个过程称为导通延迟,这是因为此时器件的漏极电流和漏极电压均未发生变化。
当栅极电压达到开启电压时,MOSFET处于微导通状态。在第二个阶段,栅极电压从Vth上升到Miller平坦区,即VGS,Miller。这是器件的线性工作区,电流和栅极电压成正比。在栅极的一侧,电流如第一阶段一样流入电容CGS和CGD,电容VGS的的电压将会不断升高。
在器件的输出端,漏极电流也不断变大,但是漏源电压基本不变,保持先前水平(VDS,OFF)。这从图3的原理图可以看出来。当所有电流都流入MOSFET而且二极管完全截止(pn结能承受反向电压)后,漏极电压必须保持在输出电压水平。
进入导通过程的第三个阶段,栅极电压(VGS,Miller)已经足够使漏极电流全部通过,而且整流二极管处于完全截止状态。现在允许漏极电压下降。在器件漏极电压下降过程中,栅源电压保持不变。
这就是栅极电压波形的Miller平坦区。从驱动得到的可用的所有栅极电流通过电容CGD放电,这将加快漏源电压变化。而漏极电流几乎不变,这是由于此刻它受外部电路(即直流电流源)限制。
最后一个阶段MOSFET沟道增强,处于完全导通状态,这得益于栅极的电压已经足够高。最终的VGS电压幅度将决定器件最终导通阻抗。因此,在第四个阶段,电压VGS从Miller平坦区增大到其最大值VDRV。
这由于电容CGS和CGD的充电完成,因此栅极电流被分成这两部分。在这两个电容充电过程中,漏极电流保持不变,漏源电压也随着导通阻抗的减小而慢慢的减小。
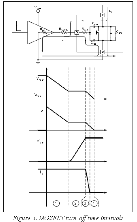
关断过程
MOSFET的关断过程恰好和它的导通过程相反。电压VGS从图3的VDRV开 始,电流从图3的最大负载电流IDC开始。漏源电压由MOSFET的电流IDC和导通阻抗决定。图5完整的显示了关断的四个阶段。

第一个阶段是关断延迟,这阶段需要电容CISS从最初值电压放电到Miller平坦区水平。这期间栅极电流由电容CISS提供,而且它流入MOSFET的电容CGS和CGD。器件的漏极电压随着过载电压的减小而略微的增大。此阶段漏极电流几乎不变。
在第二个阶段,管子的漏源电压从IDC·RDS(On)增加到最终值(VDS(off)),由图3的原理图可知它是由整流二极管强制决定的。在这一阶段,即相当于栅极电压波形的Miller平坦区,栅极电流完全是电容CGD的充电电流因为栅源电压是不变的。这个电流由电源级的旁路电容提供而且它是从漏极电流减掉的。总的漏极电流仍然等于负载电流,也就是图3直流电源表示的感应电流。
二极管的导通预示着第三个阶段的开始,二极管给负载电流提供另一通路。 栅极电压从VGS,Miller降到Vth。大部分的栅极电流来自于电容CGS,因为事实上电容CGD在前一个阶段是充满电的。
MOSFET处于线性工作区,而且栅源电压的降低将会导致漏极电流的减小,在这个阶段的最后漏极电流几乎达到0。与此同时,由于整流二极管的正向偏置漏极电压将维持在VDS(off)。
截止过程的最后一个阶段是器件的输入电容完全放电。电压VGS进一步减小到0。占栅极电流较大比例部分的电流,和截止过程的第三阶段一样,由电容CGS提供。器件的漏极电流和漏极电压保持不变。
综合上述结论,可以总结为:在四个阶段(无论是导通还是关断)里,场效应晶体管可在最大阻抗和最小阻抗间变换。四个阶段的时间是寄生电容、所需电压变化、栅极驱动电流的函数。这就突出了在高速、高频开关应用设计中器件选择部分和栅极最适合工作条件的重要性。
烜芯微专业制造二极管,三极管,MOS管,桥堆等20年,工厂直销省20%,4000家电路电器生产企业选用,专业的工程师帮您稳定好每一批产品,如果您有遇到什么需要帮助解决的,可以点击右边的工程师,或者点击销售经理给您精准的报价以及产品介绍
烜芯微专业制造二极管,三极管,MOS管,桥堆等20年,工厂直销省20%,4000家电路电器生产企业选用,专业的工程师帮您稳定好每一批产品,如果您有遇到什么需要帮助解决的,可以点击右边的工程师,或者点击销售经理给您精准的报价以及产品介绍