推挽电路
mos管推挽电路,什么是推挽电路。推挽电路就是两个不同极性晶体管间连接的输出电路。推挽电路采用两个参数相同的功率BJT管或MOSFET管,以推挽方式存在于电路中,各负责正负半周的波形放大任务,电路工作时,两只对称的功率开关管每次只有一个导通,所以导通损耗小效率高。推挽输出既可以向负载灌电流,也可以从负载抽取电流。
推挽电路的组成结构
mos管推挽电路,看看推挽电路的组成结构。如果输出级的有两个三极管,始终处于一个导通、一个截止的状态,也就是两个三极管推挽相连,这样的电路结构称为推拉式电路或图腾柱(Totem-pole)输出电路。
当输出低电平时,也就是下级负载门输入低电平时,输出端的电流将是下级门灌入T4;当输出高电平时,也就是下级负载门输入高电平时,输出端的电流将是下级门从本级电源经 T3、D1 拉出。这样一来,输出高低电平时,T3 一路和 T4 一路将交替工作,从而减低了功耗,提高了每个管的承受能力。又由于不论走哪一路,管子导通电阻都很小,使 RC 常数很小,转变速度很快。
因此,推拉式输出级既提高电路的负载能力,又提高开关速度?!⊥仆旖峁挂话闶侵噶礁鋈芊直鹗芰交ゲ剐藕诺目刂疲苁窃谝桓鋈艿纪ǖ氖焙蛄硪桓鼋刂?。要实现线与需要用 OC(open collector)门电路。
电压和电流
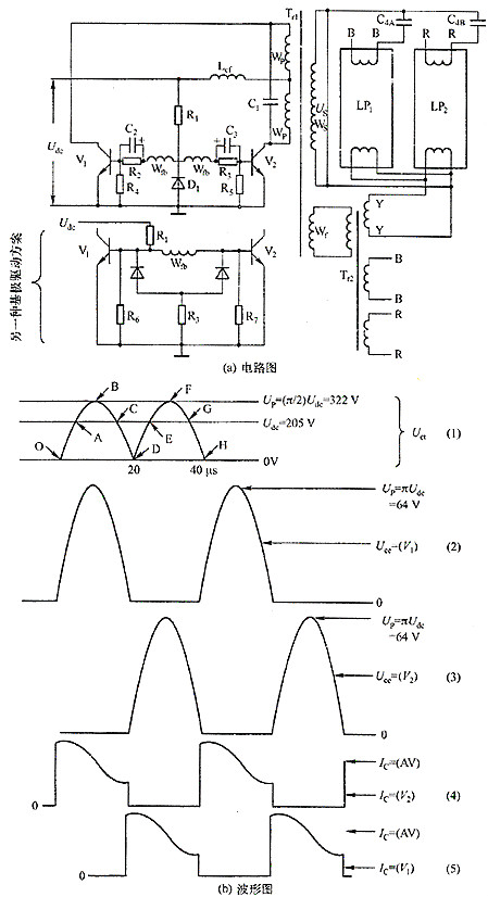
在图(b)中的(1)所示的是图(a)中功率变压器Tr1的中心抽头的波形,这种波形是因为电流反馈电感Lcf的存在及一个经过全波整流后的正弦波在过零点时会降到零。因为Lcf的直流电阻可以忽略不计,所以加在上面的直流电压几乎为零,在Lcf输出端的电压几乎等于输人端的电压,即Udc。同时因为一个全波整流后的正弦波的平均幅值等于Uac=Udc=(2/π)Up,则中心抽头的电压峰值为Up=(π/2)Udc。由于中心抽头的电压峰值出现于开关管导通时间的中点,其大小为(π/2)Udc,因此另一个晶体管处于关断状态时承受的电压为πUdc。

假设正常的交流输入电压有效值为120V,并假设有±15%的偏差,所以峰值电压为1.41×1.15×120=195V。
考虑到PFC电路能产生很好的可以调节的直流电压,大约比输入交流电压高20V左右,就有Udc=195+20=215V。这样晶体管要保证安全工作就必须能够承受值为πUd。的关断电压,也就是675V的电压。当前有很多晶体管的额定值都可以满足电流电压和频率ft的要求(如MJE18002和MJE18004,它们的Uce=1000V,ft=12MHz,β值最小为14)。
即使晶体管的ft=4MHz也没有关系,因为晶体管在关断后反偏电压的存在大大减小了它的存储时间。
从图中的(2)~(5)可以看出,晶体管电流在电压的过零点处才会上升或下降,这样可以减少开关管的开关损耗。因为通过初级的两个绕组的正弦半波幅值相等,所以其伏秒数也是相等的,而且由于存储时间可以忽略(见图(b)中的(1)),也就不会产生磁通不平衡或瞬态同时导通的问题了。
每个半周期内的集电极电流如图中的(4)和(5)所示。在电流方波脉冲顶部的正弦形状特点将在下面说明。正弦形状中点处为电流的平均值(Icav),它可以根据灯的功率计算出来。假设两盏灯的功率均为P1,转换器的效率为叩,输人电压为Udc,则集电极电流为

假设两灯管都是40W,转换器效率η为90%,从PFC电路得到的输人电压Udc为205V,则

推挽电路特点
mos管推挽电路,推挽电路适用于低电压大电流的场合,广泛应用于功放电路和开关电源中。
优点是:结构简单,开关变压器磁芯利用率高,推挽电路工作时,两只对称的功率开关管每次只有一个导通,所以导通损耗小。
缺点是:变压器带有中心抽头,而且开关管的承受电压较高;由于变压器原边漏感的存在,功率开关管关断的瞬间,漏源极会产生较大的电压尖峰,另外输入电流的纹波较大,因而输入滤波器的体积较大。
采用互补晶体管和CMOS驱动级的推挽电路图
利用CMOS反相器4049作TDA4700输出信号的反相级和晶体管T1、T2的驱动级。三个反相器并联有两个输出端分别加到推挽电路的两个晶体管基极上。电阻R2用来在控制电路不能保证有足够电压时给SIPMOS管的门极提供一个一定的电位,防止该管误导通。电容C3用来缩短时间常数R2Cbe,这里Cbe为晶体管T基-射极间电容。

烜芯微专业制造二极管,三极管,MOS管,桥堆等20年,工厂直销省20%,4000家电路电器生产企业选用,专业的工程师帮您稳定好每一批产品,如果您有遇到什么需要帮助解决的,可以点击右边的工程师,或者点击销售经理给您精准的报价以及产品介绍