大家都知道三极管是电流控制型元件,三极管工作在放大状态下存在Ic=βIb的关系,怎么理解三极管的放大模型呢?这儿我们抛开三极管内部空穴和电子的运动,还是那句话只谈应用不谈原理,希望通过下面的“图解”让初学者对三极管有一个形象的认识。
三极管是一个以b(基极)电流Ib 来驱动流过CE 的电流Ic 的器件,它的工作原理很像一个可控制的阀门。


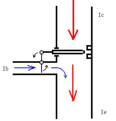
图1
左边细管子里蓝色的小水流冲动杠杆使大水管的阀门开大,就可允许较大红色的水流通过这个阀门。当蓝色水流越大,也就使大管中红色的水流更大。如果放大倍数是100,那么当蓝色小水流为1 千克/小时,那么就允许大管子流过100千克/小时的水。三极管的原理也跟这个一样,放大倍数为100 时,当Ib(基极电流)为1mA 时,就允许100mA 的电流通过Ice。
有了这个形象的解释之后,我们再来看一个单片机里常用的电路。


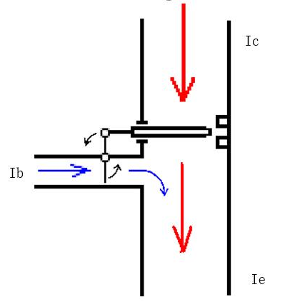
图2
我们来分析一下这个电路,如果它的放大倍数是100,基极电压我们不计?;缌骶褪?0V&pide;10K=1mA,集电极电流就应该是100mA。根据欧姆定律,这样Rc上的电压就是0.1A×50Ω=5V。那么剩下的5V 就吃在了三极管的C、E 极上了。好!现在我们假如让Rb 为1K,那么基极电流就是10V&pide;1K=10mA,这样按照放大倍数100 算,Ic 就是不是就为1000mA 也就是1A 了呢?假如真的为1安,那么Rc 上的电压为1A×50Ω=50V。啊?50V!都超过电源电压了,三极管都成发电机了吗?其实不是这样的。见下图:


图3
我们还是用水管内流水来比喻电流,当这个控制电流为10mA 时使主水管上的阀开大到能流过1A 的电流,但是不是就能有1A 的电流流过呢?不是的,因为上面还有个电阻,它就相当于是个固定开度的阀门,它串在这个主水管的上面,当下面那个可控制的阀开度到大于上面那个固定电阻的开度时,水流就不会再增大而是等于通过上面那个固定阀开度的水流了,因此,下面的三极管再开大开度也没有用了。因此我们可以计算出那个固定电阻的最大电流10V&pide;50Ω=0.2A也就是200mA。就是说在电路中三极管基极电流增大集电极的电流也增大,当基极电流Ib 增大到2mA 时,集电极电流就增大到了200mA。当基极电流再增大时,集电极电流已不会再增大,就在200mA 不动了。此时上面那个电阻也就是起限流作用了。
上面讲的三极管是工作在放大状态,要想作为开关器件来应用呢?毫无疑问三极管必须进入饱和导通和截止状态。图4所示的电路中,我们从Q 的基极注入电流IB,那么将会有电流流入集电极,大小关系为:IC=βIB 。而至于BJT 发射结电压VBE,我们说这个并不重要,因为只要IB 存在且为正值时,这个结电压便一定存在并且基本恒定(约0.5~1.2V,一般的管子取0.7V 左右),也就是我们所讲的发射结正偏。既然UBE 是固定的,那么,如果BJT 基极驱动信号为电压信号时,就必须在基极串联一个限流电阻,如图5。此时,基极电流为IB=(Ui-UBE)/RB。一般情况省略RB 是不允许的,因为这样的话IB 将会变得很大,造成前级电路或者是BJT 的损坏。


图4、图5
接下来进入我们最关心的问题:RB 如何选取。前面说到过IC=βIB,为了使晶体管进入饱和,我们必须增加IB,从而使IC 增大,RC 上的压降随之增大,直到RC 上几乎承受了所有的电源电压。此时,UCE 变得很小,约0.2~0.3V(对于大功率BJT,这个值可能达到2~3V),也就是我们所说的饱和压降UCE(sat)。如果达到饱和时,我们忽略UCE(sat),那么就有ICRL=βIBRL=Vcc。也就是只要保证IB≥IC/β或IB≥Vcc/(βRL)时,晶体管就能进入饱和状态。我们看这样一组数据:Vcc=5V,β=200,RL=100Ω。那么要求IB≥5/(200×100)A=0.25mA。如果Ui=5V,那么取RB≤(Ui-UBE)/IB≈(5-0.7)/0.25kΩ=17.2kΩ就能满足要求了。但是,实际上,对于这种情况,如果取一个10kΩ以上的电阻都可能导致BJT 无法进入饱和状态。这是为什么呢?
因为我们的器件不是理想的,我们在来看下面一个图。


这是我们常用的一款小信号BJT,型号为MMBT3904 的直流电压增益曲线。从图中可以看出,BJT 的共射极直流电压增益hFE(也就是通常意义下的β)不仅是温度的函数,而且与集电极电流有关。在一定的集电极电流范围内,hFE 基本为常数;当集电极电流大于一定值时,hFE 将急剧下降。产生这一现象的机理我们在这里就不讨论了。我们在使用BJT 作为开关时,大多数情况下用于驱动外部负载,如LED、继电器等,这些负载的电流一般较大,此时hFE 已经下降到远小于我们计算时使用的那个值。如前面的例子,如果这个BJT 为MMBT3904,集电极电流达到近50mA,此时的β(或hFE)已经下降到只要100 左右了,计算基极电阻时使用的β也应该取100 而不是200。
而实际应用中,IB 并不是越大越好,因为IB 对外电路来说是没有实质作用的,它仅仅是维持BJT 可靠导通的必要条件。IB 越大,驱动部分的损耗也就越大,从而降低了电路的效率。而且IB越大还会影响三极管的开关速率,这个我们后面再深究。
电子元件基础之三极管静态工作点
我们都知道,三极管的工作状态有三个,截止区,放大区,饱和区。那么三极管工作在什么工作状态是由什么决定的呢?是由基极电流(Ib)来决定的,和其他因素完全没有关系。
如果Ib = 0,则三极管工作在截止区。
如果0 < Ib ×β<饱和电流,则三极管工作在放大区。
如果 饱和电流
虽然说三极管的工作状态是由基极电流决定的,但是能够影响基极电流的因素就有几个,其中最重要的就是静态工作点。
在放大电路中,当有信号输入时,交流量与直流量共存。那什么是三极管的静态工作点呢?三极管静态工作点就是输入信号为零时,电路处于直流工作状态,这些电流、电压的数值可用BJT 特性曲线上一个确定的点表示,该点习惯上称为静态工作点Q。用我们的大俗话就是三极管处于静态工作状态的时候的基极电流。就是当没有交流信号输入到基极的时候,三极管的基极电流。
静态工作点是怎样影响三极管的呢? 静态工作点直接就会影响三极管的基极电流, 从而影响三极管工作在什么区域。 如果静态工作点靠近饱和区, 那么就很有可能部分的交流信号进入饱和区,没有进行放大, 造成饱和失真。 如果静态工作点靠近截止区, 那么也很有可能有部分的交流信号进入截止区, 造成截止失真。
那什么因素会影响静态工作点呢? 影响静态工作点的因素有很多, 最突出的两个就是偏置电阻和温度。 如果偏置电阻过大, 那么造成基极电流较小, 静态工作点比较靠近截止区. 如果偏置电阻过小,那么造成基极电流较大, 静态工作点比较靠近饱和区。 所以偏置电阻的选择很重要, 另外的一个重要因素是温度. 大家都知道, 温度的升高会造成半导体器件的导电性能增强, 对于三极管来讲, 就是放大倍数的增加。 所以也就产生了,很多种的抑制静态工作点漂移的电路了。
电子元件基础—MOS管
平时在实验室常用的器件还是三极管相对较多,对MOS管用得甚少,今年寄来了六套STM32 DEMO_V1.2评估板,板子上面就有几颗MOS管,为了更好认识MOS管,在课本和网上查了许多资料,现在整理出来给大家分享。
由于水平有限在这儿我们只谈应用不谈原理。我们知道MOS管有P沟道和N沟道之分,给出一个MOS的电路符号,你是怎么判断它是N沟道,还是P沟道?下面我们就来看图1这颗MOS管电路符号。


图1
请问:哪个脚是S(源极)、哪个脚是G(栅极)哪个脚是D(漏极)?D和S,是N沟道还是P沟道MOS?1脚和3脚之间存在一个二极管,这个二极管有什么作用?如果接入电路,一般哪个接输入哪个接输出?
MOS三个极怎么判断


图2
它们是N沟道还是P沟道


图3
寄生二极管
在图1我们看到D极和S极之间存在着一个二极管,这个二极管叫寄生二极管。MOS的寄生二极管怎么来的呢?翻开大学里的模拟电路书里面并没有寄生二极管的介绍。在网上查了一番资料才知道,它是由生产工艺造成的,大功率MOS管漏极从硅片底部引出,就会有这个寄生二极管。小功率MOS管例如集成芯片中的MOS管是平面结构,漏极引出方向是从硅片的上面也就是与源极等同一方向,没有这个二极管。模拟电路书里讲得就是小功率MOS管的结构,所以没有这个二极管。但D极和衬底之间都存在寄生二极管,如果是单个晶体管,衬底当然接S极,因此自然在DS之间有二极管。如果在IC里面,N—MOS衬底接最低的电压,P—MOS衬底接最高电压,不一定和S极相连,所以DS之间不一定有寄生二极管。那么寄生二极管起什么作用呢?当电路中产生很大的瞬间反向电流时,可以通过这个二极管导出来,不至于击穿这个MOS管。(起到?;OS管的作用)
寄生二极管方向判定


图4
MOS管的应用
开关作用
我们笔记本主板上用得最多的电子器件便是MOS管,可见MOS管在低功耗方面应用得非常广泛,MOS管都有哪些应用呢?先来看下面的原理图


图5
相信你从图5可以看出MOS管在电路中的作用了吧,以上的MOS开关实现的是信号切换(高低电平的切换),那么MOS在电路中要实现开关作用应该满足什么条件呢?还有前面提过MOS管接入电路哪个极接输入哪个极接输出(提示:寄生二极管是关键)?我们先看MOS管做开关时在电路的接法。


图6
想一想为什么是这样接呢?反过来接行不行?那是不行的。就拿NMOS管来说S极做输入D极做输出,由于寄生二极管直接导通,因此S极电压可以无条件到D极,MOS管就失去了开关的作用,同理PMOS管反过来接同样失去了开关作用。接下来谈谈MOS管的开关条件,我们可以这么记,不论是P沟道还是N沟道,G极电压都是与S极电压做比较:
N沟道: UG>US时导通。 (简单认为)UG=US时截止。
P沟道: UG
但UG比US大(或小)多少伏时MOS管才会饱和导通呢?这要看具体的MOS管,不同的MOS管要求的压差不同。比如笔记本上用于信号切换的MOS管:N7002,2N7002E,2N7002K,2N7002D,FDV301N等。UG比US大3V---5V即可。
隔离作用
如果我们想实现线路上电流的单向流通,比如只让电流由A->B,阻止由B->A,请问该怎么做?


但这样的做法有一个缺点,二极管上会产生一个压降,损失一些电压信号。而使用MOS管做隔离,在正向导通时,在控制极加合适的电压,可以让MOS管饱和导通,这样通过电流时几乎不产生压降。下面我们来看一个防电源反接电路。


这个电路当电源反接时NMOS管截止,?;ち烁涸?。电源正接时由于NMOS管导通压降比较小,几乎不损失电压,比在电源端加保险管再在负载并联一个二极管的方案好一些。
烜芯微专业制造二极管,三极管,MOS管,桥堆等20年,工厂直销省20%,1500家电路电器生产企业选用,专业的工程师帮您稳定好每一批产品,如果您有遇到什么需要帮助解决的,可以点击右边的工程师,或者点击销售经理给您精准的报价以及产品介绍
烜芯微专业制造二极管,三极管,MOS管,桥堆等20年,工厂直销省20%,1500家电路电器生产企业选用,专业的工程师帮您稳定好每一批产品,如果您有遇到什么需要帮助解决的,可以点击右边的工程师,或者点击销售经理给您精准的报价以及产品介绍