瞬态电压抑制器(TVS)是一种由二极管阵列组成的电路?;て骷?,有的还集成有稳压二极管,如士兰微电子SU0514PG。TVS具有响应速度快,箝位电压低,电压精准等优点,广泛应用于对?;て骷蠼细叩某『?,如汽车电子、工业控制、照明、通信等行业,如HDMI接口、VGA接口、USB端口、以太网接口、DC电源线、RS485接口、通信电源等。
TVS特性参数
TVS管可在电路出现异常过电压并达到TVS(雪崩)击穿电压时突变为低电阻状态,泄放瞬时过电流到地,把异常过电压箝位在较低水平,从而?;ず蠹兜缏访庠庖斐9缪沟乃鸹?。当异常过电压消失后,TVS阻值又恢复为高阻态。

TVS 电路?;ぴ砑蛲?/div>
根据TVS伏安特性曲线,表征TVS特性的参数主要有:
IPP —— 峰值脉冲电流
IPPM —— 额定峰值脉冲电流
VC —— 箝位电压
VBR —— 击穿电压
IT —— 脉冲直流试验电流
VRWM —— 最高工作电压
IR —— 漏电流(待机电流)
IF —— 正向直流电流(正向测试电流)
VF —— 正向压降(正向直流电压)
IFSM ——正向不重复峰值电流(浪涌电流)
与其他过压?;て骷啾?,TVS具有较低的动态内阻,箝位电压低,响应速度较快,工作电压3.3V~600V甚至更高。在10/1000μs波形下,TVS瞬态功率可达200W~30000W,甚至更高。在8/20μs波形下,TVS瞬态峰值脉冲电流可达3kA、6kA、10kA、16kA、20kA甚至更高。

TVS伏安特性曲线
TVS选型注意事项
选择TVS时,应根据应用环境,重点考虑VRWM、额定瞬态功率、箝位电压、漏电流、结电容和封装形式等极限参数。
(1)最高工作电压VRWM:TVS的截止电压应大于被?;さ缏返淖罡吖ぷ鞯缪?。这样才能保证TVS在电路正常工作下不会影响电路工作。但是TVS的工作电压高低也决定了TVS钳位电压的高低,在截止电压大于线路正常工作电压的情况下,TVS工作电压也不能选取的过高,如果太高,钳位电压也会较高,所以在选择VRWM时,要综合考虑被?;さ缏返墓ぷ鞯缪辜昂蠹兜缏返某惺苣芰Α?/div>
(2)额定瞬态功率:PPPM与IPPM成正比,IPPM越大,PPPM也越大。实际选型中,TVS应留有一定的裕量,TVS的功率PPPM选择应遵循PPPM≥Pactual。
(3)VC箝位电压:TVS箝位电压应小于后级被保护电路最大可承受的瞬态安全电压,大多数TVS的VC与VBR及IPP都成正比。对于同一功率等级的TVS,其击穿电压越高VC也越高。
(4)IR漏电流:在一些低功耗电路或高精度采集电路中,IR过大可能导致电路功耗过大或信号的采集精度超标。因低压(VRWM<10V)TVS的IR较大,如果后级电路耐受能力较强的话,尽量选择10V或以上的TVS;如果后级电路耐受能力不足,需要选择小IR且低电压的TVS。
(5)结电容:TVS的结电容一般在几十皮法至几十纳法。对于同一功率等级的TVS,其电压越低,电容值越大。在一些通信线路中,要注意TVS的结电容,不能影响电路正常工作。
(6)封装形式:TVS的功率从封装形式上也可以体现,封装体积越小,其功率一般也越小,因为TVS的芯片面积直接决定了TVS的功率等级。

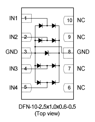
烜芯微的SU0514PG超低电容TVS
例如,烜芯微的的SU0514PG是一款4通道电压轨箝位型超低电容TVS器件,并集成了一个稳压二极管,目标应用为高速数据传输线的ESD保护,例如平板显示器和机顶盒中的HDMI接口、VGA接口、USB端口、以太网接口等保护。
烜芯微专业制造二极管,三极管,MOS管,桥堆等20年,工厂直销省20%,1500家电路电器生产企业选用,专业的工程师帮您稳定好每一批产品,如果您有遇到什么需要帮助解决的,可以点击右边的工程师,或者点击销售经理给您精准的报价以及产品介绍
烜芯微专业制造二极管,三极管,MOS管,桥堆等20年,工厂直销省20%,1500家电路电器生产企业选用,专业的工程师帮您稳定好每一批产品,如果您有遇到什么需要帮助解决的,可以点击右边的工程师,或者点击销售经理给您精准的报价以及产品介绍
相关阅读
最新资讯
- 怎么用TVS二极管提高电路的抗突波能力
- PIN二极管的电导调制机制和应用介绍
- 基于双MOS管的防反灌电路工作原理介绍
- 高效率整流二极管的特性和应用介绍
- 详解稳压二极管的关键特性和应用原理
- MOS管选型关键因素分析,怎么选择合适的参数
- 三相整流电路分析,半波整流与全波整流的工作原理
- IGBT三相全桥整流电路工作原理介绍
- 详解快恢复二极管,结构,特性和应用介绍
- 三极管和MOS管组合式开关电路分析
联系烜芯微
咨询热线:
18923864027
传真:
18923864027
QQ:
709211280
地址:
深圳市福田区振中路84号爱华科研楼7层