
快恢复二极管PIN结构示意图
如上所示:快恢复二极管是在常规的功率二极管基础上,在器件设计与制作工艺上采用少子寿命控制技术等改善二极管的工作特性而得到。二极管结构剖面如图1a所示,由两个重掺杂去(P+和N+)及中间间隔的轻掺杂区(N-)组成。
二极管PN结构详解
如果半导体内存在一个物理界面,界面两侧分别是P型半导体和N犁半导体,则在界面附近会形成一个极薄的特殊区域,称为PN结。PN结并不是简单的P型和N型半导体材料压合在--起,它是根据“杂质补偿”的原理,采用合金法或平面扩散法等半导体工艺制成的。虽然PN结的物理界面把材料分为P区和N区,但整个材料仍然保持完整的晶体结构。
当一块P型半导体与一块N型半导体结合时,P区的空穴浓度远大于N区,N区的电子浓度远大于P区,存在着很大的载流子浓度差。P区的空穴向N区扩散,与N区的电子中和,N区的电子向P区扩散,与P区的空穴中和,界面附近,P区留下了带负电的负离子,N区留下了带正电的正离子,形成了空间电荷区,这个空间电荷区称为PN结,如图2-1所示。由于空间电荷区内无载流子,所以叫耗尽层。随着PN结的形成,建立了PN结电场。这个电场称为内电场,向由N型区指向P型区。


图2-1 PN结的空间电荷区结构
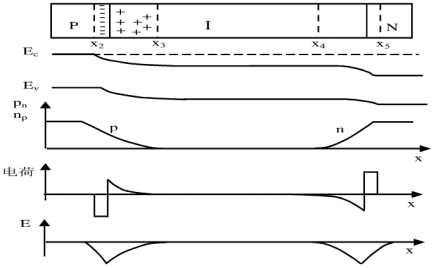
快恢复二极管PN的结构PIN的结构说明
所谓PIN二极管是由重掺杂的P型区和N型区之间夹一接近本征型的高电阻率I层构成,其·般结构,其一般结构如图2-2所示。I层厚度由反向耐压和正向电流决定,在热平衡时的能带图、载流子分布、空间电荷及电场分布如图2-2所示。


图2-2 PIN二极管的结构、能带、载流子分布空间电荷机电场分布
PIN结构优势
p-i-n结快恢复二极管的有效作用区主要就是存在有电场的i型层(势垒区),则产生光生载流子的有效区域增大了,扩散的影响减弱了,并且结电容也大大减小了,所以其光检测的灵敏度和响应速度都得到了很大的提高。
烜芯微专业制造二极管,三极管,MOS管,桥堆20年,工厂直销省20%,1500家电路电器生产企业选用,专业的工程师帮您稳定好每一批产品,如果您有遇到什么需要帮助解决的,可以点击右边的工程师,或者点击销售经理给您精准的报价以及产品介绍
烜芯微专业制造二极管,三极管,MOS管,桥堆20年,工厂直销省20%,1500家电路电器生产企业选用,专业的工程师帮您稳定好每一批产品,如果您有遇到什么需要帮助解决的,可以点击右边的工程师,或者点击销售经理给您精准的报价以及产品介绍