P沟道mosfet介绍
金属氧化物半导体场效应(MOS)晶体管可分为N沟道与P沟道两大类,P沟道硅MOS场效应晶体管在N型硅衬底上有两个P+区,分别叫做源极和漏极,两极之间不通导,柵极上加有足够的正电压(源极接地)时,柵极下的N型硅表面呈现P型反型层,成为连接源极和漏极的沟道。改变栅压可以改变沟道中的电子密度,从而改变沟道的电阻。这种MOS场效应晶体管称为P沟道增强型场效应晶体管。如果N型硅衬底表面不加栅压就已存在P型反型层沟道,加上适当的偏压,可使沟道的电阻增大或减小。这样的MOS场效应晶体管称为P沟道耗尽型场效应晶体管。统称为P沟道MOS晶体管。
P沟道MOS晶体管的空穴迁移率低,因而在MOS晶体管的几何尺寸和工作电压绝对值相等的情况下,PMOS晶体管的跨导小于N沟道MOS晶体管。此外,P沟道MOS晶体管阈值电压的绝对值一般偏高,要求有较高的工作电压。它的供电电源的电压大小和极性,与双极型晶体管——晶体管逻辑电路不兼容。PMOS因逻辑摆幅大,充电放电过程长,加之器件跨导小,所以工作速度更低,在NMOS电路(见N沟道金属—氧化物—半导体集成电路)出现之后,多数已为NMOS电路所取代。只是,因PMOS电路工艺简单,价格便宜,有些中规模和小规模数字控制电路仍采用PMOS电路技术。
PMOS集成电路是一种适合在低速、低频领域内应用的器件。PMOS集成电路采用-24V电压供电。如图5所示的CMOS-PMOS接口电路采用两种电源供电。采用直接接口方式,一般CMOS的电源电压选择在10~12V就能满足PMOS对输入电平的要求。
MOS场效应晶体管具有很高的输入阻抗,在电路中便于直接耦合,容易制成规模大的集成电路。
p沟道增强型mosfet的结构及工作原理
一、P沟道增强型mosfet的结构和工作原理
如图(1)是P沟道增强型mosfet的结构示意图.通过光刻、扩散的方法或其他手段,在N型衬底(基片)上制作出两个掺杂的P区,分别引出电极,称为源极(s)和漏极(D),同时在漏极与源极之间的Si02绝缘层上制作金属,称为栅极(G),栅极与其他电极是绝缘的,所以称为绝缘栅场效应管 。图(2)为P沟道增强型MOS管的电路符号


正常工作时,P沟道增强型mosfet的衬底必须与源极相连,而漏心极对源极的电压v璐应为负值,以保证两个P区与衬底之间的PN结均为反偏,同时为了在衬底顶表面附近形成导电沟道。栅极对源极的电压‰也应为负.
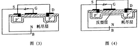
1.导电沟道的形成(VDS=0)
当VDS=0时,在栅源之间加负电压比,如图(3)所示,由于绝缘层的存在,故没有电流,但是金属栅极被补充电而聚集负电荷,N型半导体中的多子电子被负电荷排斥向体内运动,表面留下带正电的离子,形成耗尽层,随着G、S间负电压的增加,耗尽层加宽,当v&增大到一定值时,衬底中的空穴(少子)被栅极中的负电荷吸引到表面,在耗尽层和绝缘层之间形成一个P型薄层,称反型层,如下图
(4)所示,这个反型层就构成漏源之间的导电沟道,这时的VGs称为开启电压VGS(th),啵到vGS(th)后再增加,衬底表面感应的空穴越多,反型层加宽,而耗尽层的宽度却不再变化,这样我们可以用vGs的大小控制导电沟道的宽度。


2.VDS≠O的情况
导电沟道形成以后,D,S间加负向电压时,那么在源极与漏极之间将有漏极电流ID流通,而且ID随/VDS/而增.ID沿沟道产生的压降使沟道上各点与栅极间的电压不再相等,该电压削弱了栅极中负电荷电场的作用,使沟道从漏极到源极逐渐变窄,如图(5)所示.当VDS增大到使VGD=VGS(即VDS=VGS一VGS(TH)),沟道在漏极附近出现预夹断,如图(6)所示.再继续增大VDS,夹断区只是稍有加长,而沟道电流基本上保持预夹断时的数值,其原因是当出现预夹断时再继续增大VDS,VDS的多余部分就全部加在漏极附近的夹断区上,故形成的漏极电流ID近似与VDS无关。


二、P沟道增强型mosfet的特性曲线和转移特性曲线
图(7)、(8)分别是P沟道增强型M06管的漏极特性曲线和转移特性曲线.漏极特性曲线也可分为可变电阻区、恒流区和夹断区三部分.转移特性曲线是、,璐使管子工作在漏极特性曲线的恒流区时所对应的ID=F(VGS)曲线:
ID与VGS的近似关系式为:

烜芯微专业制造二三极管,MOS管,20年,工厂直销省20%,1500家电路电器生产企业选用,专业的工程师帮您稳定好每一批产品,如果您有遇到什么需要帮助解决的,可以点击右边的工程师,或者点击销售经理给您精准的报价以及产品介绍

烜芯微专业制造二三极管,MOS管,20年,工厂直销省20%,1500家电路电器生产企业选用,专业的工程师帮您稳定好每一批产品,如果您有遇到什么需要帮助解决的,可以点击右边的工程师,或者点击销售经理给您精准的报价以及产品介绍