LLC谐振半桥简介
在传统的开关电源中,通常采用磁性元件实现滤波,能量储存和传输。开关器件的工作频率越高,磁性元件的?尺寸就可以越小,电源装置的小型化、轻量化和低成本化就越容易实现。但是,开关频率提高会相应的提升开关器件的开关损耗,因此软开关技术应运而生。
要实现理想的软开关,最好的情况是使开关在电压和电流同时为零时关断和开通(ZVS,ZCS),这样损耗才会真正为零。要实现这个目标,必须采用谐振技术。
LLC串联谐振电路
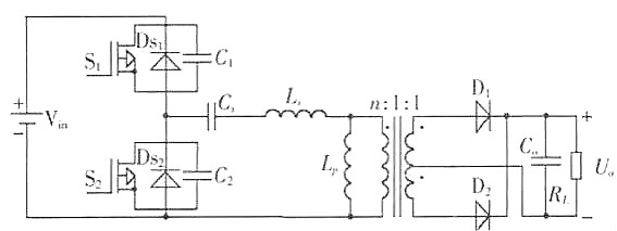
根据电路原理,电感电容串联或并联可以构成谐振电路,使得在电源为直流电源时,电路中得电流按照正弦规?律变化。由于电流或电压按正弦规律变化,存在过零点,如果此时开关器件开通或关断,产生的损耗就为零。下边就分析目前所使用的LLC谐振半桥电路。基本电路如下图所示:


其中Cr,Lr,Lm构成谐振腔(Resonant?tank),即所谓的LLC,Cr起隔直电容的作用,同时平衡变压器磁通,防止饱和。
LLC电路特征
(1)变频控制
(2)固定占空比50%
(3)在开关管轮替导通之间存在死区时间(Dead?Time),因此Mosfet可以零电压开通(ZVS),二次侧Diode可以零点流关断,因此二极管恢复损耗很小
(4)高效率,可以达到92%+
(5)较小的输出涟波,较好的EMI
LLC谐振半桥工作原理


上图分别给出了 LLC 谐振变换器的电路图和工作波形。图1中包括两个功率 MOSFET(S1 和S2),其占空比都为0.5;谐振电容 Cs,副边匝数相等的中心抽头变压器 Tr,Tr 的漏感Ls,激磁电感 Lm,Lm 在某个时间段也是一个谐振电感,因此,在 LLC谐振变换器中的谐振元件主要由以上3个谐振元件构成,即谐振电容 Cs,电感 Ls 和激磁电感 Lm;半桥全波整流二极管 D1 和 D2,输出电容 Cf。LLC 变换器的稳态工作原理如下:
(1)(t1,t2)当t=t1 时,S2 关断,谐振电流给S1的寄生电容放电,一直到S1上的电压为零,然后S1 的体内二级管导通。此阶段D1导通,Lm上的电压被输出电压钳位,因此,只有Ls和Cs参与谐振。


(2)(t2,t3)当t=t2 时,S1在零电压的条件下导通,变压器原边承受正向电压;D1继续导通,S2及D2 截止。此时 Cs和Ls参与谐振,而Lm不参与谐振。
(3)(t3,t4)当t=t3 时,S1仍然导通,而 D1与D2 处于关断状态,Tr 副边与电路脱开,此时Lm,Ls和 Cs 一起参与谐振。实际电路中 Lm>>Ls,因此,在这个阶段可以认为激磁电流和谐振电流都保持不变。
(4)(t4,t5)当t=t4 时,S1关断,谐振电流给S2的寄生电容放电,一直到S2上的电压为零,然后S2 的体内二级管导通。此阶段 D2 导通,Lm 上的电压被输出电压钳位,因此,只有 Ls 和Cs 参与谐振。
(5)(t5,t6)当t=t5 时,S2 在零电压的条件下导通,Tr 原边承受反向电压;D2继续导通,而S1和D1 截止。此时仅 Cs和Ls 参与谐振,Lm上的电压被输出电压箝位,而不参与谐振。
(6)(t6,t7)当 t=t6 时,S2仍然导通,而D1和D2处于关断状态,Tr 副边与电路脱开,此时 Lm,Ls和Cs 一起参与谐振。实际电路中Lm>>Ls,因此,在这个阶段可以认为激磁电流和谐振电流都保持不变。
L6599的软启动电路
Pin12 加上 Vcc 电压后,给Pin1(CSS)外接电容 C13 充电,此时 C13 可视为短路,R36 与R32 并联,电阻减少,L6599 的振荡频率升高,电源功率下降,当 C13 充满电时,此时 C13 可视为开路,振荡频率由R32 决定,振荡频率降低,电源输出正常,由此实现变频软启动功能。同时,VDC 通过R20、 R21、 R22 串联电阻及 R30分压输入 Pin7(Line),R30 上并联的电容用来旁路噪声干扰。
Pin7(Line)电压低于 1.25V 关闭IC,高于 1.25V低于 6V时,IC正常工作,通过对 VDC 的电压检测,实现欠压?;すδ?。
IC 完成软启动后,内部振荡器开始振荡,在 Pin15(HVG)与 Pin11(LVG)输出如图所示的两个占空比接近 50%的脉冲,驱动 MOS管开始工作。
FSFR1700XS稳压原理
次级电压通过取样电阻加在光耦(PC2)内发光管上,并与U402(TL431)的基准电压进行比较,U402的稳压值由上偏电阻 R428和并联的下偏电阻R429、R430 决定,稳压值由此公式算得:
Vo=[R428/R29//R430+1]*1.5V
当负载由满载转向空载时,引起输出电压上升,ICS1(TL431)1脚的电压将上升,而1脚的电压是稳定在 2.5V 的,这将引起 3-2脚间流过的电流增大,光耦(PC2)内发光二极管的电流增大,光耦内光敏三级管流过的电流也增大,光敏三级管相当于一个可变电阻,此时内光敏管电阻变小,引起 IC 振荡频率升高,使输出电压下降,反之,当负载由空载转向满载时,输出电压降低,必然引起 IC 振荡频率降低,调节输出电压升高,实现了稳压的目的。
烜芯微专业制造二三极管,MOS管,20年,工厂直销省20%,1500家电路电器生产企业选用,专业的工程师帮您稳定好每一批产品,如果您有遇到什么需要帮助解决的,可以点击右边的工程师,或者点击销售经理给您精准的报价以及产品介绍
烜芯微专业制造二三极管,MOS管,20年,工厂直销省20%,1500家电路电器生产企业选用,专业的工程师帮您稳定好每一批产品,如果您有遇到什么需要帮助解决的,可以点击右边的工程师,或者点击销售经理给您精准的报价以及产品介绍